压刨机内部结构图

压刨
图片尺寸928x444
摘要附图摘要本实用新型公开了一种家具加工压刨机,其结构包括底座
图片尺寸1422x1973
一种木材加工用高效压刨机-爱企查
图片尺寸738x800
单面压刨的制作方法
图片尺寸1000x928
一种木材压刨机的制作方法
图片尺寸1000x662
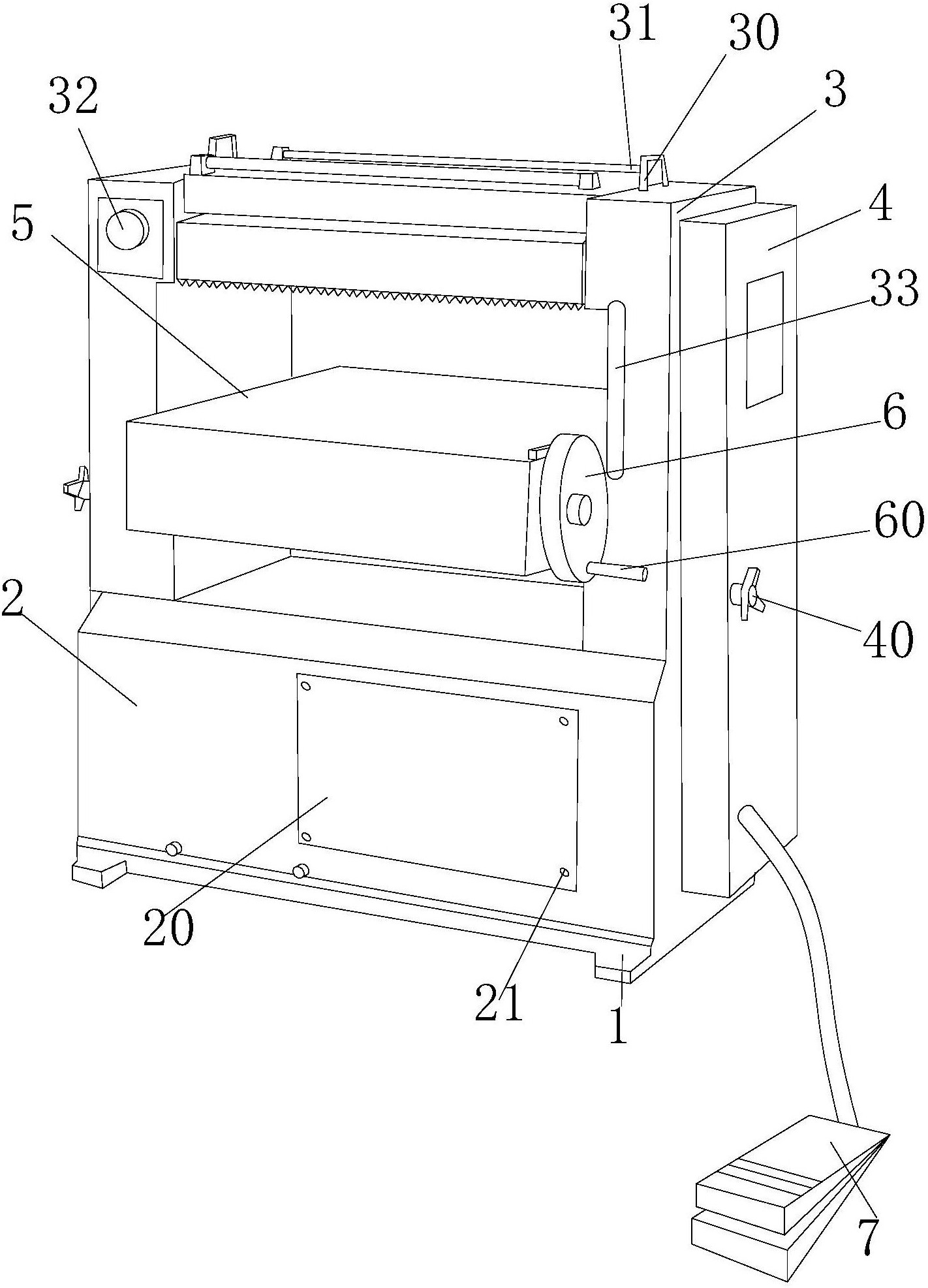
第一限位块,第二限位块,压力感应模块,压片成型头,压片成型保护结构
图片尺寸2118x2246
双面木工压刨机cad图纸
图片尺寸830x654
冷室压铸机
图片尺寸1653x2338
一种用于球拍木柄加工的压刨机
图片尺寸1507x999
一种压刨机的制作方法
图片尺寸1000x716
cn206812126u_一种双面输送带式高速压刨床有效
图片尺寸1000x726
其包括机架,机架的顶部安装有刨刀并设有压动组件,压动组件包括固定于
图片尺寸2373x1657
木工压刨的工作台升降机构-爱企查
图片尺寸1167x1417
图5-9 龙门刨床龙门刨床因有一个大型的"龙门"式框架结构而得名,如图5
图片尺寸601x364
振邦mb103gk高速单面木工压刨床压刨机 高速压刨 木线机 木工机械
图片尺寸750x1170
垃圾压实机设计.
图片尺寸766x417
一种防退行木工压刨机制造技术
图片尺寸1000x717
热室压铸机的结构_第1页
图片尺寸1860x2630
洛克士木工压刨机小型家用平刨机多功能大功率电刨台式刨床单面刨
图片尺寸750x1193
一种木工压刨的自动进料装置的制作方法
图片尺寸1000x667