厕所弯道结构图片

九牧卫浴官方旗舰蹲便器蹲坑式存水弯蹲厕便池防臭蹲便器套装
图片尺寸790x1066
家里装修,挑选马桶也有大讲究
图片尺寸550x367
annwa/安华卫浴 带存水弯陶瓷蹲便器蹲坑ald5311b 厂家直销 正品
图片尺寸790x945
技术:目前市场上的智能马桶冲刷系统主要分为水箱式与无水箱式结构
图片尺寸1000x879
水利给水排水工程装置的制造及其处理技术
图片尺寸887x1000
马桶硬物卡s弯道怎么办
图片尺寸500x391
装修卫生间问题!师傅自己做了防水弯!要我买那种不带存水弯的蹲便器!
图片尺寸450x800
厂家生产tc5712蹲便器潮州生产卫生洁具飞机厕
图片尺寸700x591
四川成都正品 蹲便器 带沉水弯 蹲厕 蹲坑 前出水
图片尺寸750x3165
装修百科之卫浴洁具又之下水管s弯
图片尺寸700x390
(arrow)箭牌卫浴蹲便器家用卫生间蹲坑蹲厕带存水弯
图片尺寸790x951
cn101289877a_一种可变回水弯便器失效
图片尺寸1344x1219
艺翔 齐陶qd-206防臭蹲厕蹲坑 蹲坑蹲式大便池 带存水弯蹲便器
图片尺寸790x672
九牧卫浴官方旗舰蹲便器蹲坑式存水弯蹲厕便池防臭蹲便器套装
图片尺寸800x800
疫情启示录丨你究竟该住怎样的房子?
图片尺寸496x447
蹲便器要设置存水弯吗
图片尺寸390x387
蹲式马桶堵了怎么办 蹲式马桶结构图
图片尺寸500x375
家里换了3个马桶,才知道马桶应该怎样选!别再听导购忽悠了!
图片尺寸1320x704
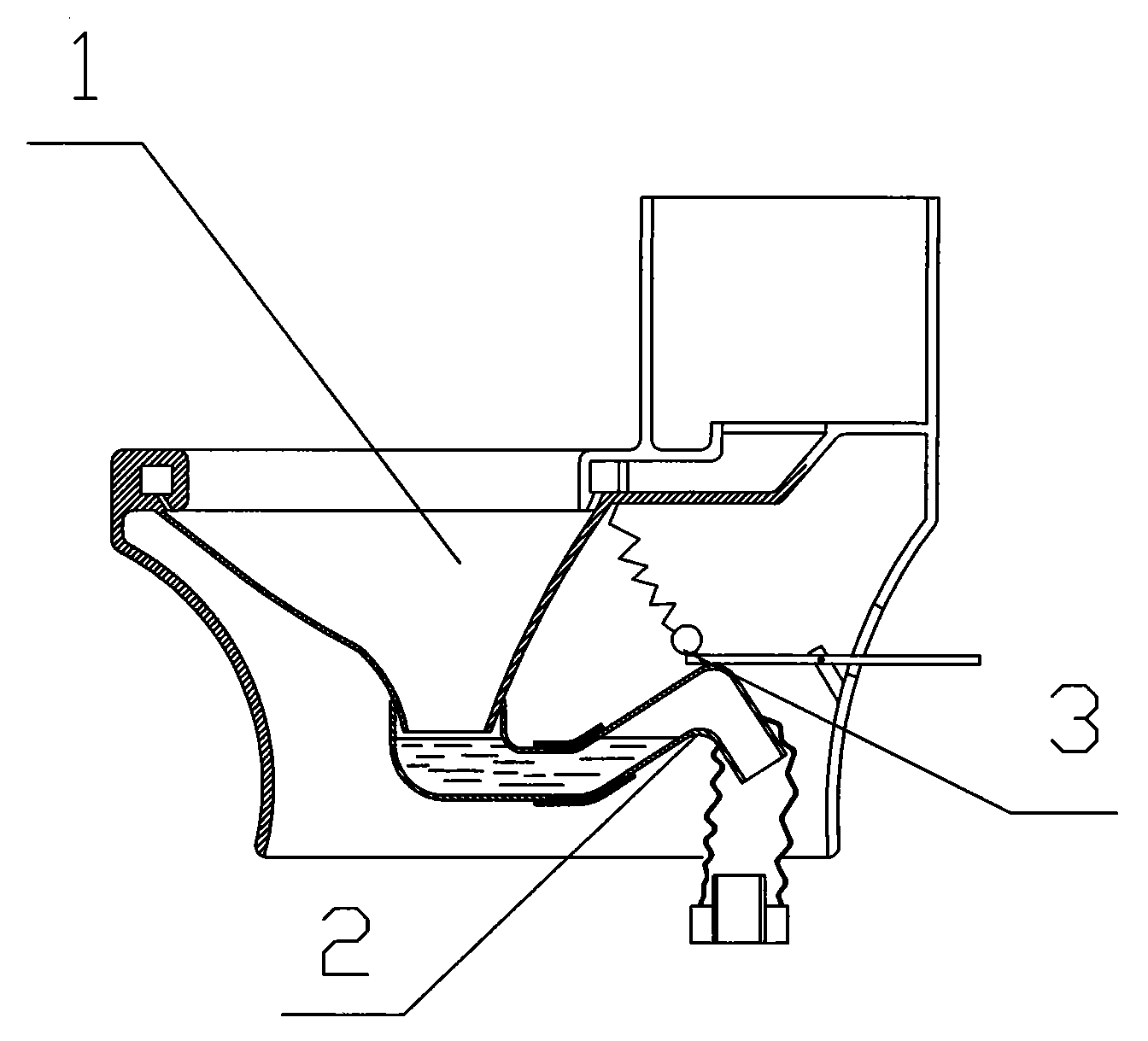
一种具有双存水弯的无水箱马桶
图片尺寸1000x879
家用陶瓷蹲便器冲水箱整套装臭大便器便盆厕所蹲坑便池单独水箱喷枪
图片尺寸750x1068