双活塞气缸工作原理图

双作用气缸工作原理分析图
图片尺寸637x507
双作用气缸控制气路
图片尺寸1946x1053
双作用气缸换向回路
图片尺寸376x436
双作用气缸结构原理:可以在活塞的两个面上施力以控制其主动运动可以
图片尺寸640x205
1c 双作用气缸工作原理
图片尺寸800x334
一种双活塞增压弹簧气缸的制作方法
图片尺寸1000x829
smc cm2系列双作用气缸的结构原理图,它由缸筒,端盖,活塞,活塞杆和
图片尺寸710x306
不同种类的气缸工作原理详细介绍
图片尺寸602x350
双作用气缸换向回路
图片尺寸533x365
双作用双出杆气缸回路
图片尺寸1080x810
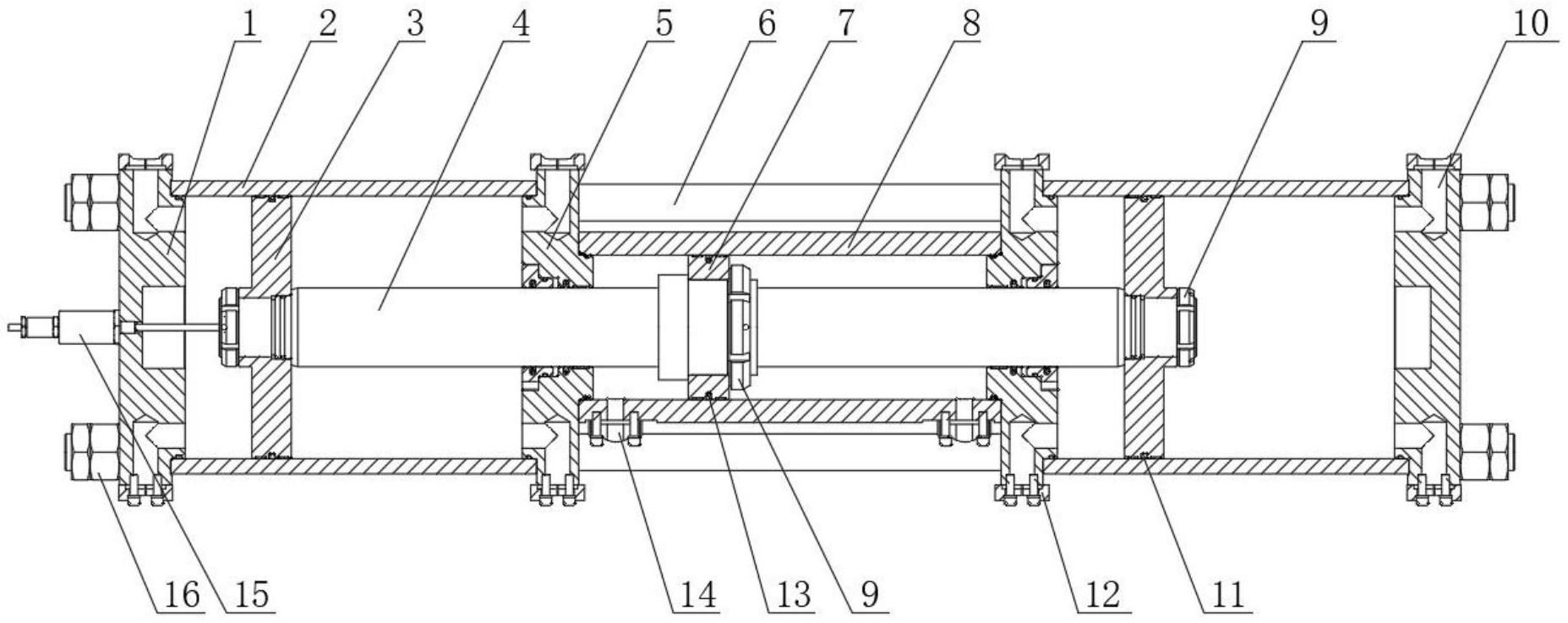
一种液压压缩机双作用液压缸活塞锁紧结构
图片尺寸1855x737
示的为活塞杆固定式的双杆活塞缸,缸体与工作台相连,整个工作台的移动
图片尺寸918x655
6-11试利用两个双作用气缸
图片尺寸598x659
画出双作用气缸单循环动作的气动控制原理图
图片尺寸500x375
项目3 气缸plc控制ppt
图片尺寸1080x810
输出压力随气缸节数增加而增大的套活塞型式双行程推缸
图片尺寸1000x353
双作用活塞式液压缸结构图
图片尺寸684x300
cxsm系列气缸的结构原理图.jpg
图片尺寸1500x1020
台湾agl55,56中缸气缸套缸锻造活塞rik环福喜巧格鬼火迅鹰非战马
图片尺寸200x283
双行程气缸怎么接电磁阀双行程气缸工作控制原理图
图片尺寸450x341