双筒望远镜原理

双筒望远镜在物镜和目镜之间均安装了转像棱镜,根据转像原理不同可以
图片尺寸750x380
双筒望远镜中为什么配置全反射棱镜格物明理搜狐博客
图片尺寸441x229
博冠波斯猫cat银虎8x42双筒望远镜充氮防水微光夜视高倍
图片尺寸750x380
在双筒望远镜上会有两个数字,例如7×50,通常刻在目镜的末端附近.
图片尺寸700x488
高清大目镜双筒望远镜 - 抖音
图片尺寸1063x1700
双筒望远镜光路图 好吗
图片尺寸300x220
望远镜的基本原理
图片尺寸893x337
牛顿折射式望远镜原理图
图片尺寸640x419
在双筒望远镜上会有两个数字,例如7×50,通常刻在目镜的末端附近.
图片尺寸350x187
双筒望远镜制造技术
图片尺寸1655x2009
双筒望远镜由多少块透镜组成
图片尺寸360x270
伽利略望远镜成像原理|双筒望远镜成像原理
图片尺寸487x382
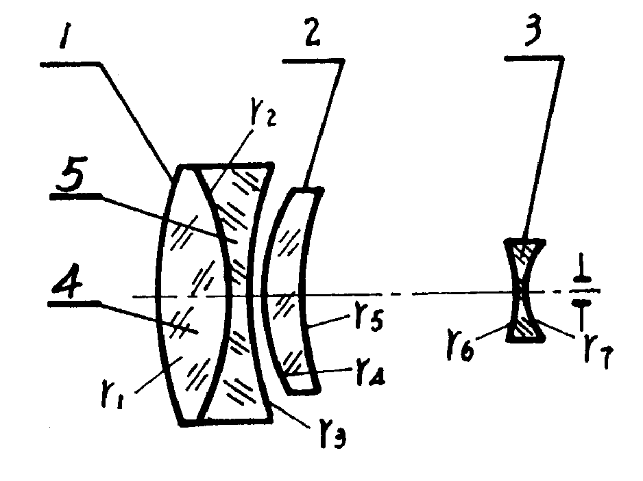
一种单铰链中轴调焦防水型双筒望远镜的制作方法
图片尺寸582x331
棱镜是将图像中的光线通过双筒望远镜引导到您的眼睛的光学元件.
图片尺寸640x391
cn1690762a_双筒望远镜失效
图片尺寸1216x1417
激光发射接收及显示耦合装置及直筒式双筒测距望远镜的制作方法
图片尺寸861x1000
双目望远镜系统
图片尺寸220x165
军用望远镜是伽利略望远镜的一种,多为双目望远镜,一般手持使用,大
图片尺寸400x413
全塑料广角双筒望远镜
图片尺寸938x703
望远镜知识科普:双筒望眼镜做成扁平状有什么讲究?_手机搜狐网
图片尺寸450x397