双重绝缘结构

产品结构设计安规要求初探
图片尺寸525x341
双重绝缘,加强绝缘,安全电压和漏电保护_安全管理网
图片尺寸800x600
双重绝缘,加强绝缘,安全电压和漏电保护_安全管理网
图片尺寸800x600
双重绝缘 由基本绝缘和附加绝缘组成的绝缘
图片尺寸480x300
双重绝缘是什么意思_双重绝缘结构
图片尺寸1001x590
qc百科 【验货员百科】电器产品重要安规概念(一) 2,附加绝缘: 在基本
图片尺寸964x588
关于高频变压器的安规培训资料 基本概念 双重绝缘 基本绝缘 附加绝缘
图片尺寸1076x672
一种双重绝缘阻水型防火电缆的制作方法
图片尺寸515x317
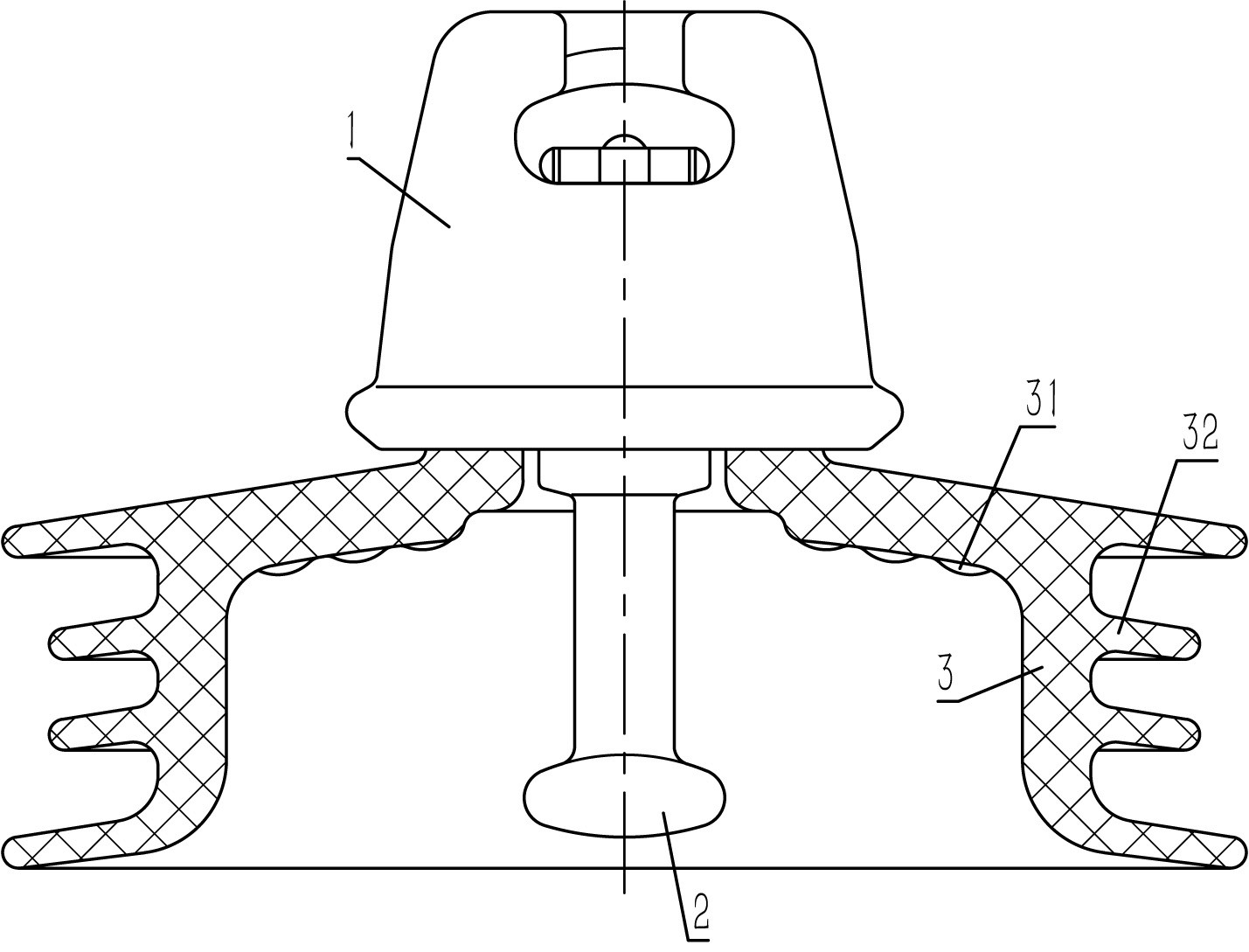
一种双重外绝缘复合结构盘形悬式绝缘子-爱企查
图片尺寸1429x1089
一种具有双重绝缘阻燃电线的制作方法
图片尺寸402x444
一种双绝缘光电复合电缆的制作方法与工艺
图片尺寸1000x942
溶胶的双电层结构和电动电位 双电层结构 : 胶核吸附电位离子,电位
图片尺寸1080x810
一种具有双重绝缘效果的电缆制造技术
图片尺寸1000x946
具有双重绝缘功能的耳机线的制作方法
图片尺寸789x895
胜牌电线ul1672-20awg优质pvc双重绝缘电子线 美标 厂家直销现货
图片尺寸691x307
一种双重绝缘变频无刷电动工具-爱企查
图片尺寸1567x1110
深入了解消防配电中的矿物绝缘电缆建议收藏
图片尺寸720x271
耐辐射双层绝缘式核电站用电缆-爱企查
图片尺寸1204x1028
复合悬式绝缘子
图片尺寸468x214
双断口真空断路器的动态介质恢复协同特性
图片尺寸412x377