反应釜机械密封原理图

本发明属于机械工程密封领域,适用于反应釜磁性液体密封.
图片尺寸1000x849
机是配置于对密封有严格要求的反应釜,搅拌机采用"静密封"的密封原理
图片尺寸520x419
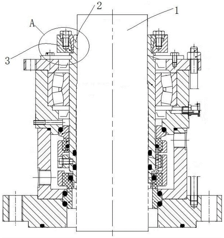
一种反应釜机械密封的易拆卸维护的夹紧装置的制作方法
图片尺寸941x1000
一种三合一搅拌釜用机械密封制造技术,反应釜用机械密封专利_技高网
图片尺寸1000x954
什么是超强耐腐蚀釜用机械密封件呢
图片尺寸1114x1303
可与德国的ekato反应釜上的esd型机械密封互换.
图片尺寸649x595
一种内冷式机械密封的制作方法
图片尺寸1000x826
8000l耐酸碱腐蚀的高压加氢反应釜
图片尺寸606x861
>> 延长釜用机械密封使用寿命的方法 什么是反应釜用机械密封答:反应
图片尺寸349x342
几张机械密封图片
图片尺寸400x459
一种釜用双端面机械密封制造技术
图片尺寸1000x840
cn213117483u_一种釜用双端面机械密封
图片尺寸1872x2104
一种采用电磁驱动反应釜的化工机械系统的制作方法
图片尺寸1000x789
反应釜的工作原理
图片尺寸651x474
磁力密封搅拌器,反应釜磁力密封搅拌器图片大全,威海市正威机械设备
图片尺寸523x666
cn212177687u_一种反应釜机械密封的易拆卸维护的夹紧装置有效
图片尺寸941x1000
5l锆材磁力密封反应釜
图片尺寸1937x1937
212型釜用机械密封
图片尺寸330x347
诚泽供应高温高压反应釜 胶水反应釜 树脂反应釜 加热保温高.
图片尺寸508x367
供应水热合成反应釜 不锈钢 中型 小型 电加热 磁力密封反应釜
图片尺寸604x320