发酵装置

1.1《果酒和果醋的制作》课件(3)(新人教版选修1)ppt_word文档在线阅
图片尺寸1080x810
生物发酵制乙醇实践装置简介|百科-莱帕克
图片尺寸3508x2480
小型微生物发酵实验装置设备jd-gafm-xl-北京佳德精密科技有限公司
图片尺寸800x800
1000l 工艺两船二手微酿酒设备出售 - buy 二手微酿酒设备出售,工艺二
图片尺寸1000x754
关于我们»生产基地_浙江善德生物工程股份有限公司
图片尺寸600x497
垃圾发酵实验装置_立式垃圾发酵综合教学实训装置_中人教仪厂
图片尺寸600x600
微生物在发酵食品的加工中起着极其重要的作用,可利用微生物制作果酒
图片尺寸474x168
适用27033果酒果醋发酵装置 自然化学 初高中生物教学仪器自然仪器
图片尺寸800x800
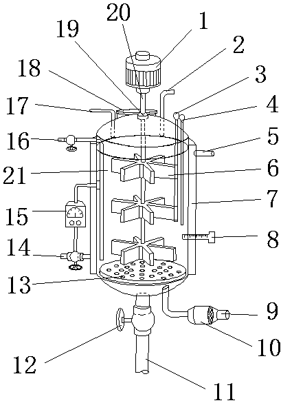
一种生香酵母发酵面包的装置的制作方法_2
图片尺寸414x591
发酵罐-回收二手发酵罐微生物发酵装置_二手发酵罐-梁山晟翰机械设备
图片尺寸1080x1080
下图为谷氨酸发酵装置图. 发酵罐结构示意图(1)图中3,6处是发酵罐
图片尺寸181x291
高温发酵装置养殖发酵装置
图片尺寸500x375
酱油发酵设备-西安招贴网
图片尺寸577x450
酱油发酵装置 - 储存压力容器图纸 - 沐风网
图片尺寸594x536
ete9199 uasb厌氧发酵柱实验装置(废水厌氧可生物降解性实验装置)-标
图片尺寸864x1152
(2006•江苏)如图为谷氨酸发酵装置图.(1)图中3,6处是发酵罐夹层中
图片尺寸229x354
一种生香酵母发酵面包的装置专利_专利申请于2017-12-20_专利查询 -
图片尺寸409x585
底物浓度对玉米秸秆乙醇发酵及残渣甲烷发酵的影响
图片尺寸1486x1012
生物发酵罐.生物发酵罐是用来进行微生物发酵的装置,也是微生物 - 抖
图片尺寸1080x1440
dyl041 立式筒仓式发酵槽实验装置_mm
图片尺寸1000x1000