合页怎么画

求教 合页转动
图片尺寸475x341
一种可调阻尼合页_cn201821410722.4_知雀网
图片尺寸1000x664
一种合页的制作方法
图片尺寸913x1000
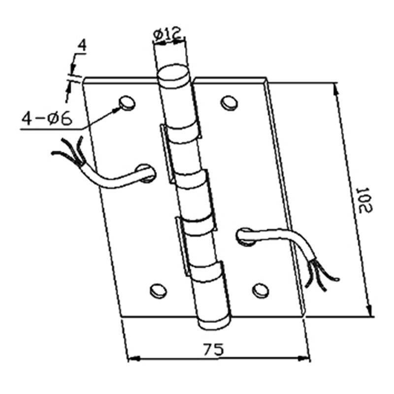
厂家批发过线合页设备走线合页 设备过线合页 穿线铰链
图片尺寸800x800
一种可调合页的制作方法
图片尺寸971x1000
无油静音阻尼防火合页的制作方法
图片尺寸1000x1000
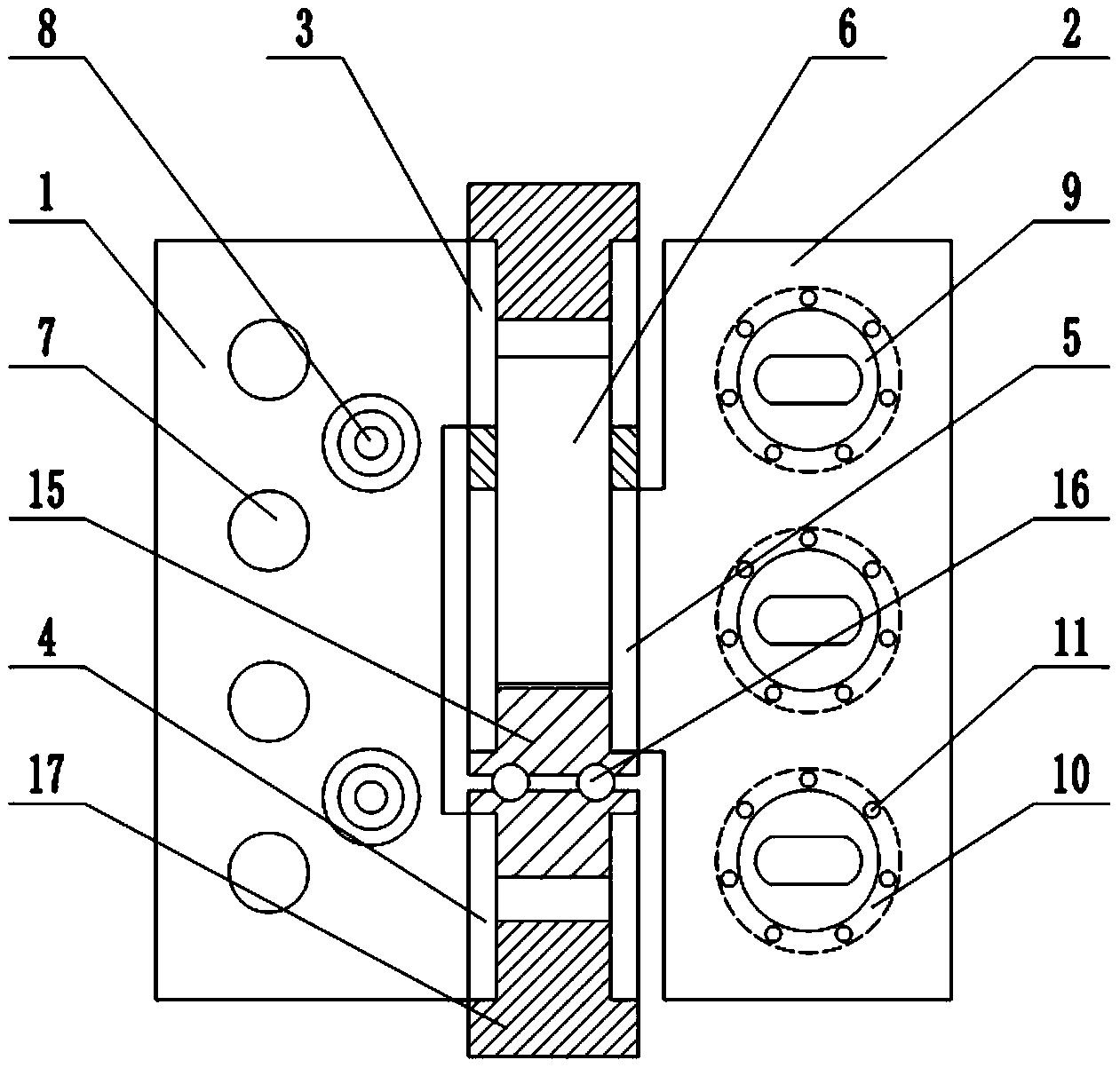
一种用于工程机械的润滑合页的制作方法
图片尺寸444x618
一种合页的制作方法
图片尺寸347x443
合页-爱企查
图片尺寸632x974
铝型材门窗专用合页5050尼龙合页塑胶合页 5050型材锁板塑胶铰链
图片尺寸942x435
4寸蓝白锌柜门合页 门合页 门铰链 机械合页 厚度1.5毫米
图片尺寸750x933
合页的制作方法
图片尺寸1000x802
一种合页的制作方法
图片尺寸340x443
一种无轴芯的合页-爱企查
图片尺寸1261x1203
厂家供应4寸3厘平开不锈钢合页拉丝合页门窗合页
图片尺寸750x567
cn213573501u_一种淋浴房合页有效
图片尺寸414x379
一种无油合页-爱企查
图片尺寸1483x821
一种合页的制作方法
图片尺寸442x511
一种可调节合页结构的制作方法
图片尺寸792x1000
塑料强阻尼合页 可调式尼龙阻尼小铰链 黑色合页 ml2-017 承重5kg
图片尺寸750x1061