吊钩组成

所谓一吊千金,吊钩的保养你做对了吗?
图片尺寸640x311
起重吊钩装置的组成部分有哪些各自叫什么名称
图片尺寸476x304
吊钩
图片尺寸370x282
a2吊钩pdf
图片尺寸800x566
欧式吊钩组的特点 传统桥式起重机的吊钩组是最常见的一种取 - 抖音
图片尺寸1280x1706
一种新型单滑轮吊钩组-爱企查
图片尺寸1278x1956
一般由吊钩,吊钩螺母,吊钩轴承,吊钩横梁,滑轮轴,滑轮和拉板等组成
图片尺寸330x294
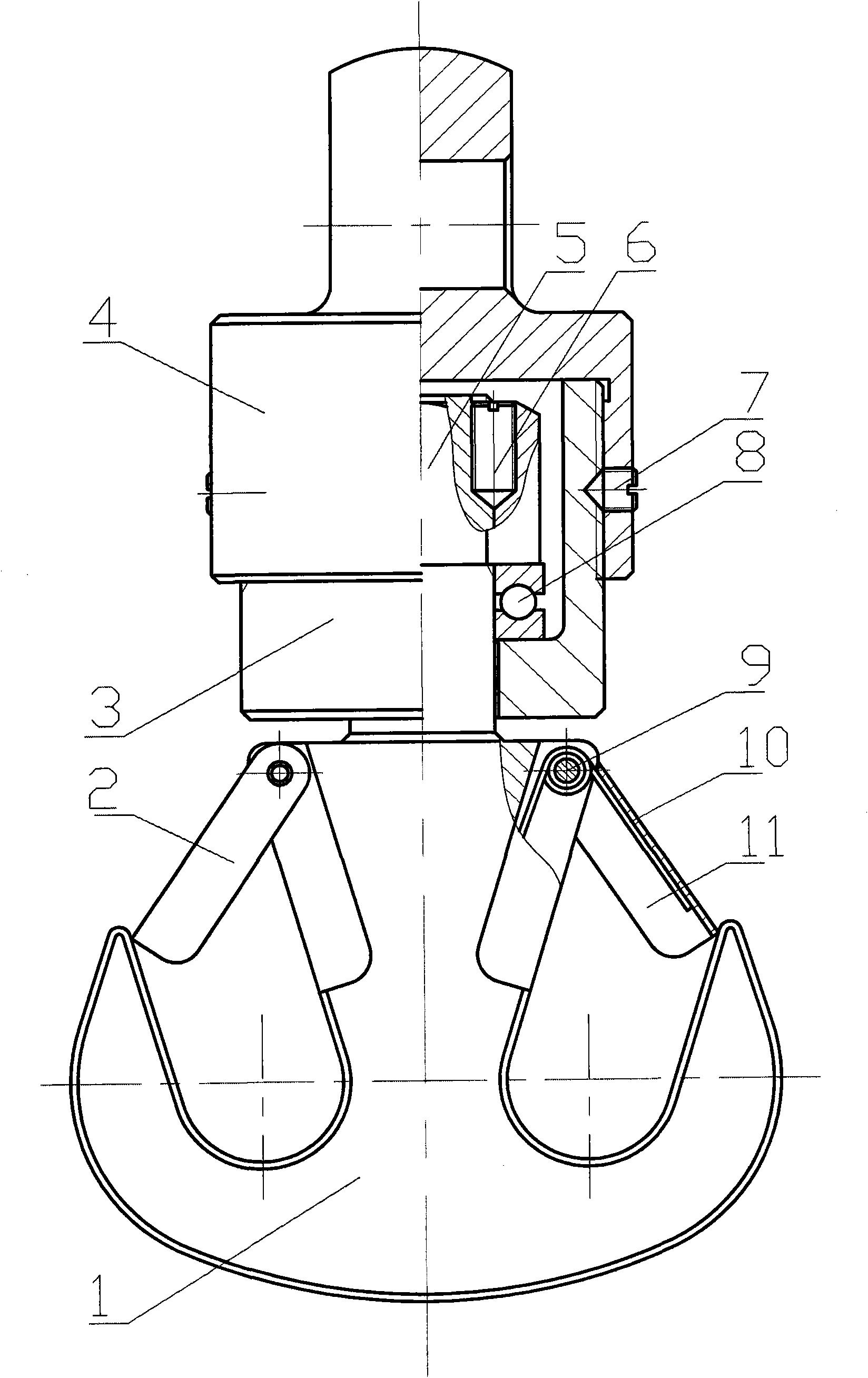
cn112811305a_一种起重机用自锁吊钩有效
图片尺寸1606x1963
钢丝绳电动葫芦吊钩行车天车下钩吊具起重配件导绳器卷扬机滑轮车 t38
图片尺寸828x1280
20t半封闭轧制行车吊钩组 双梁起重机 滑轮 行车吊钩总成
图片尺寸1000x812
桥式起重机吊钩
图片尺寸494x583
一种井架起重用对称式双向吊钩-爱企查
图片尺寸1648x2616
吊钩组件和塔式起重机的制作方法
图片尺寸1195x1225
吊钩
图片尺寸558x539
关于欧式起重机吊钩组的介绍
图片尺寸1137x905
a0-吊钩组.dwg
图片尺寸1200x800
一种新型的吊钩配合结构的制作方法
图片尺寸383x453
耐用16t双梁起重机吊钩组 龙门吊吊钩组 电动葫芦吊钩 非标定制
图片尺寸700x525
一种具有自锁功能的眼角吊钩-爱企查
图片尺寸722x800
厂家批发 环眼吊钩 高强度合金钢环眼钩 0.5t起重吊钩美式吊钩
图片尺寸790x855