吸管承重支架设计图

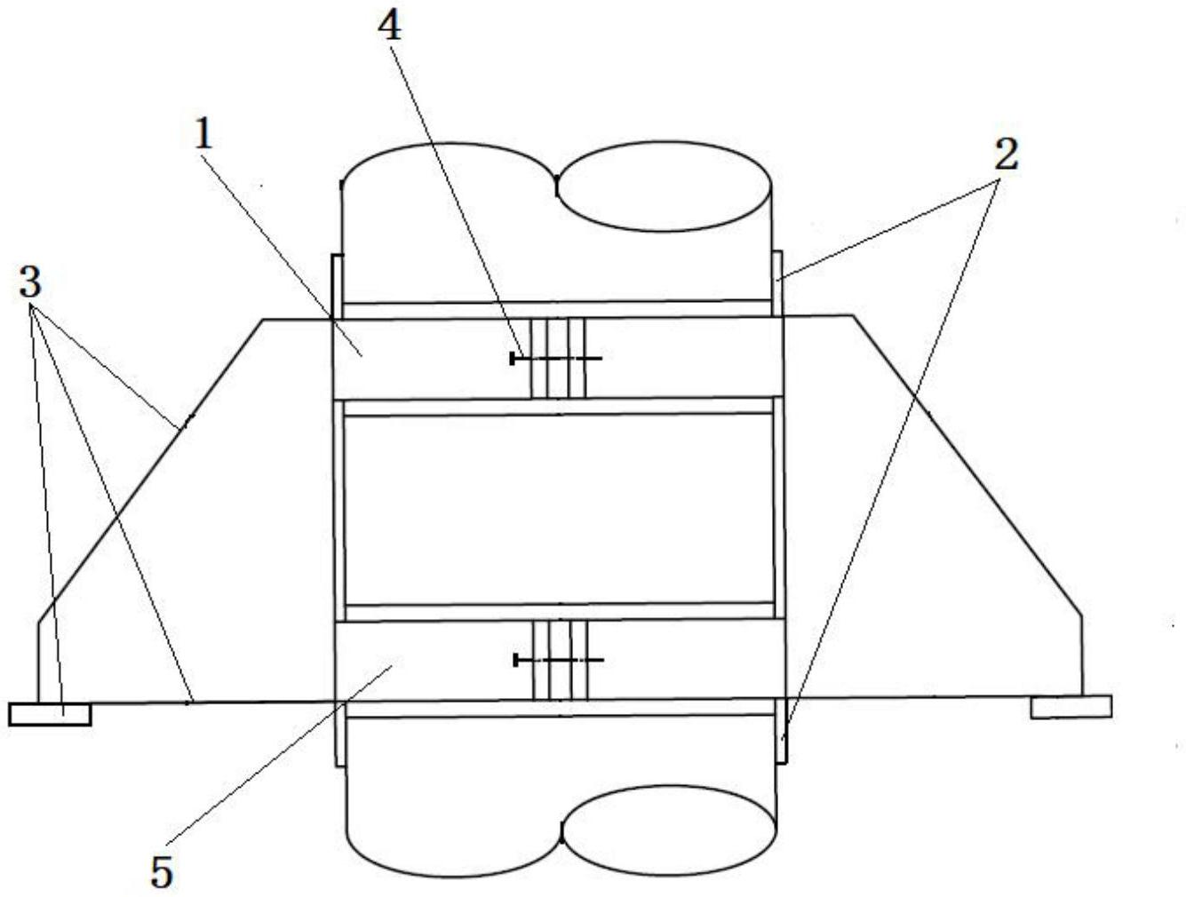
一种立管承重支架
图片尺寸1667x1861
一种立管承重支架
图片尺寸1752x1399
一种薄壁管道立管承重支架-爱企查
图片尺寸1335x1010
吸管 塑料片=?除了乐高,给自己另外一种挑战!
图片尺寸500x500![[分享]室内管道支架吊架图集资料免费下载](https://imgs.wantubizhi.com/img/A1A61BAA66193547F3A6DD7D8EE527E9AA3A7405C8B97562A5030B4D093528E310E9F0BE3C41E0BC1306620ECE5B80802DC5A628DBFAD990CB8AEE85034F478B921A1BF0405FBE72019A49BE9DF215BA9BC520E6A727942AC3145F2784D33E45)
[分享]室内管道支架吊架图集资料免费下载
图片尺寸560x366
2 用一根吸管固定三角支架周围 3 垂直插入一根吸管在三角支架的中心
图片尺寸340x237
未来工程师课堂吸管创意搭建空间课程
图片尺寸640x427
用一根吸管就让孩子爱上物理这样的游戏你也能做
图片尺寸541x412
抗震支架与承重支架传统支架的区别
图片尺寸1754x1241
用20根牙签30根吸管制作桥,如何承重最大?
图片尺寸487x341
考场内,学生需利用吸管,橡皮筋和一把剪刀制作一个简易的水塔支架并
图片尺寸720x540
煤气管道外网管道支架图
图片尺寸1095x447
小吸管支撑大梦想利兹学院土木工程实践课程精彩回顾
图片尺寸645x860
结束语: 可以摆放耳环耳钉的吸管支架就做好啦,只用吸管简单几步就能
图片尺寸640x360
机电安装工程 空调水立管固定支架设计与安装 - 抖音
图片尺寸1440x2752
耐酸碱 亚克力 塑料 吸管架 液移管架胖肚吸管架圆盘 梯型长方型
图片尺寸1920x1920
把餐巾纸摩擦过的塑料吸管放在支架上吸管能在水平面自由转动如图所示
图片尺寸834x318
吸管桥梁
图片尺寸1000x717
用吸管锻炼幼儿园孩子的精细动作和创造力,是怎么做到的?
图片尺寸640x773
学生用吸管,橡皮泥,牙签等搭成的模型,还是很有创意的
图片尺寸750x1125