商标查询

全球买手音乐剪辑音频剪辑甜相机商标注册查询精心挑选的旅行线路合集
图片尺寸256x256
尚小标智能ai商标注册交易平台24小时您口袋里的商标管家
图片尺寸782x1390
商标查询文字图形组合专业软件检索分析报告注册申请通过率机会高
图片尺寸800x800
康信ip平台手机端已上线!一键开启掌上智能商标查询
图片尺寸660x1343
cme_注册号1328028_商标注册查询 - 天眼查
图片尺寸980x1400
汇商商标商标查询软件
图片尺寸720x1280
tmkoo标库网商标查询
图片尺寸300x533
定制防伪贴纸不干胶酒logo商标查询真伪正品标识最新卷筒涂层标签
图片尺寸1200x1200
康信ip平台手机端已上线!一键开启掌上智能商标查询
图片尺寸660x1364
云岩商标查询
图片尺寸1008x774
lhg_注册号9248133_商标注册查询 - 天眼查
图片尺寸980x1400
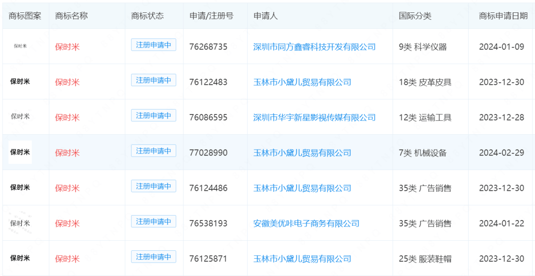
小米汽车有多火米时捷保时米商标都被疯狂抢注
图片尺寸1080x557
康信ip平台手机端已上线!一键开启掌上智能商标查询
图片尺寸369x750
科嘉_注册号5012797_商标注册查询 - 天眼查
图片尺寸980x1400
商标注册美国欧盟马德里国际商标注册商标查询商标申请变更转让复
图片尺寸365x367
碧珍_注册号903398_商标注册查询 - 天眼查
图片尺寸980x1400
商标查询送商标审查标准送商标法专业查询有效提高商标通过率检索
图片尺寸505x333
商标注册品牌注册商标查询商标代办商标加急包受理商标转让复审
图片尺寸800x800
基于尼斯分类》最新版或中国商标网商标查询栏目中进行关键字查询
图片尺寸1005x673
商标加急注册查询申请买商标转让出售r162029303135类品牌店标志
图片尺寸751x751