啮合式

机电一体化毕业生企业实习调研报告-郑州沃华机械有限公司
图片尺寸800x491
减速起动机的齿轮减速器有外啮合式,内啮合式和行星齿轮式等三种不同
图片尺寸304x399
啮合式 - 2020年最新商品信息聚合专区 - 百度爱采购
图片尺寸555x417
cn2207221y_自定心分片啮合式对辊机失效
图片尺寸1152x1504
内啮合式机油泵
图片尺寸310x360
▼ 外摩擦式棘轮机构▼ 外啮合式▼ 外啮合式不完全齿轮机构▼ 弯曲▼
图片尺寸340x252
齿轮齿条啮合式升降机的环节技术-章丘宏富达物资有限公司
图片尺寸528x434
回转面包络滚动式点啮合环面蜗杆传动装置-爱企查
图片尺寸896x930
一种双齿轮齿条啮合式连续性打扣装置制造方法及图纸
图片尺寸905x1000
螺杆与蜗轮啮合式百分表传动机构图5-5小型百分表结构图5-4.
图片尺寸500x458
重量啮合式耦合器
图片尺寸1517x1300
旋转式齿轮啮合机构,齿轮啮合后有冲击,求助
图片尺寸954x576
双万向联轴器▼ 凸轮机构局自由度▼ 外摩擦式棘轮机构▼ 外啮合式▼
图片尺寸545x343
个离合器联结两根输入轴,相邻各档的被动齿轮交错与两输入轴齿轮啮合
图片尺寸796x671
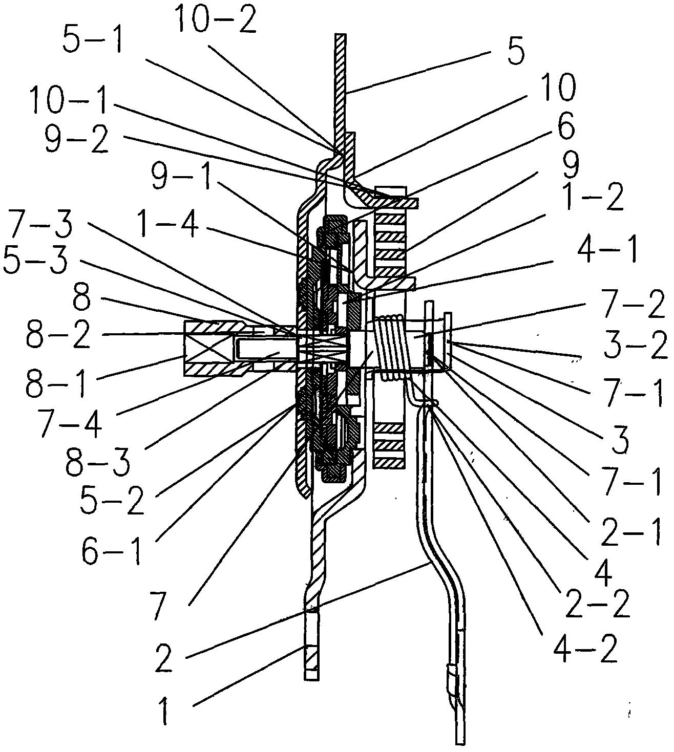
cn2435536y_螺旋啮合式汽车起动机单向器失效
图片尺寸930x791
《间歇运动机构》ppt课件.ppt_第5页
图片尺寸920x690
求教端面齿啮合离合器的画法
图片尺寸630x432
齿轮机构是一种十分著名的双排行星齿轮机构,它是由两个内啮合式单排
图片尺寸620x370
具有内啮合式核心元件的座椅调角器-爱企查
图片尺寸1316x1469
直观的机械原理,这是一个内啮合式不完全齿轮机构,涨知识了00:21
图片尺寸352x234