回力齿轮组装分解图

齿轮箱介绍ppt
图片尺寸1080x810
塑胶齿轮设计指南
图片尺寸983x857
回力车内部结构分析产品设计与实现课程作业
图片尺寸3840x2124
当后拉车轮,小齿轮滑落到下部位置,主轴为发条上弦.
图片尺寸600x337
第4课齿轮传动回力小车教学案
图片尺寸920x1302
(王腾辉)contact way联系方式恒达牙箱主营制作销售各种回力牙箱,惯性
图片尺寸1080x810
q-q-4-27 a3 零件量测记录表
图片尺寸1280x960
跨境热销宝宝玩具车惯性车回力车邮政车警车油罐车环卫车男孩玩具
图片尺寸750x1257
少儿创意美术摩托车写生真的超酷
图片尺寸600x577
装载机驱动桥行星齿轮架磨损原因及改进措施
图片尺寸700x562
3-4 在图示的齿轮-连杆组合机构中,试用瞬心法求齿轮1 与3的传动比ω1
图片尺寸1080x810
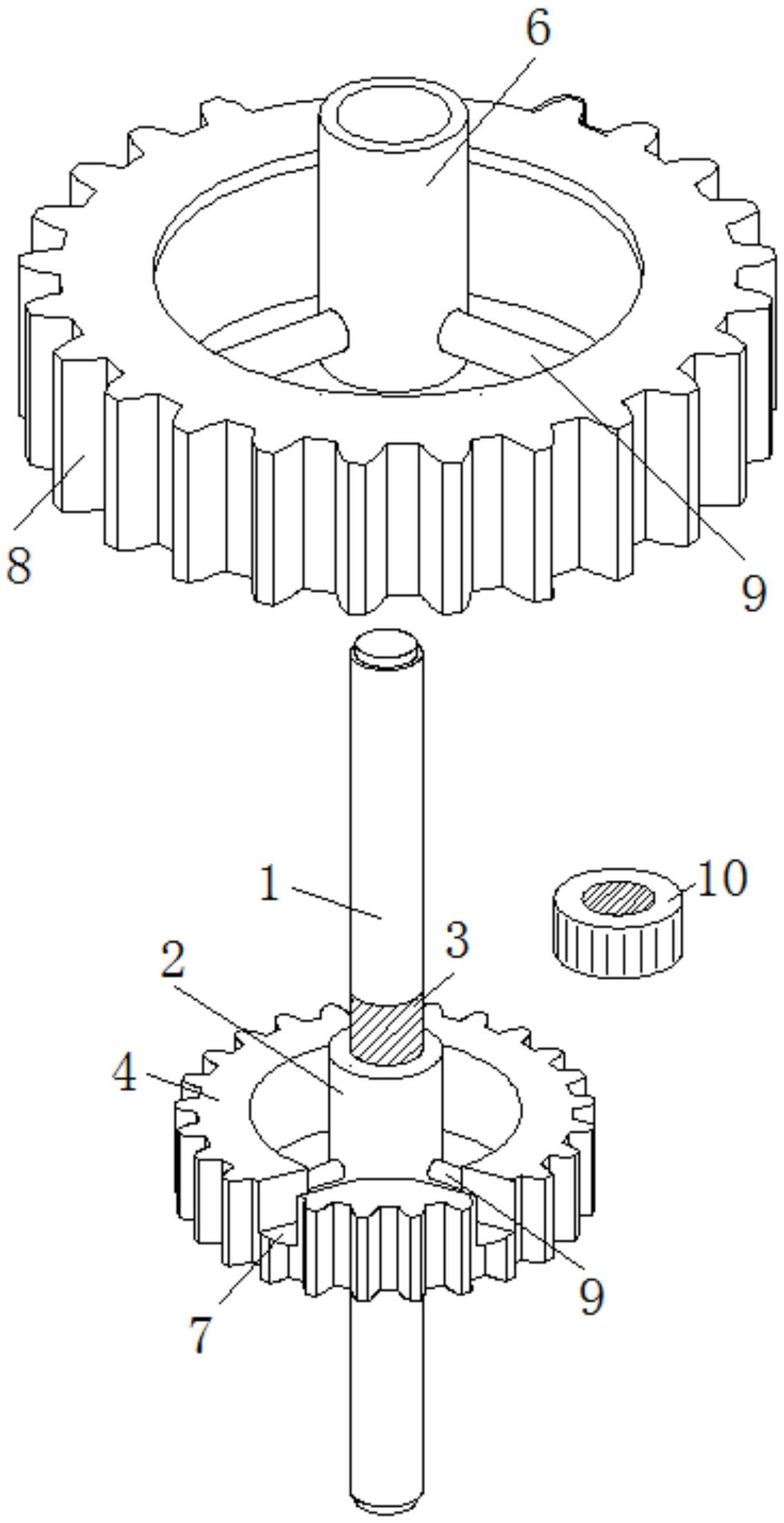
一种方便拆装的重叠装配式机械齿轮
图片尺寸1147x2227
回力a-01(2) 3.25*1.8*1.65cm
图片尺寸750x562
【youtube搬运】回力车的原理动画_哔哩哔哩_bilibili
图片尺寸1152x720
回转体轴类零件数控车削加工工艺编制ppt
图片尺寸1080x675
回力车
图片尺寸1984x1488
一个单级行星齿轮箱模型组装完毕,见图6.
图片尺寸800x480
齿轮组
图片尺寸820x587
90mm回力拉线盒 蓄力齿轮箱 diy玩具配件 科技制作零件
图片尺寸300x300
轴承游隙调整及溅油环结构
图片尺寸1171x659