回油阀阀体草图

09王静图集阀体
图片尺寸1840x1318
18王静图集阀体
图片尺寸1831x1313
第二届"高教杯"全国大学生先进图形技能与创新大赛3d建模球阀 阀体
图片尺寸1399x1048
这是什么阀体
图片尺寸2448x3264
回油阀装配图ppt
图片尺寸1080x810
测绘回油阀(课堂ppt)
图片尺寸920x690
读回油阀装配图可知,在正常工作时,柴油从阀体(件1)的右端孔流入,从
图片尺寸495x760
回油阀装配图ppt
图片尺寸1080x810
solidworks 请教 截止阀 阀体建模过程,谢谢
图片尺寸3507x2480
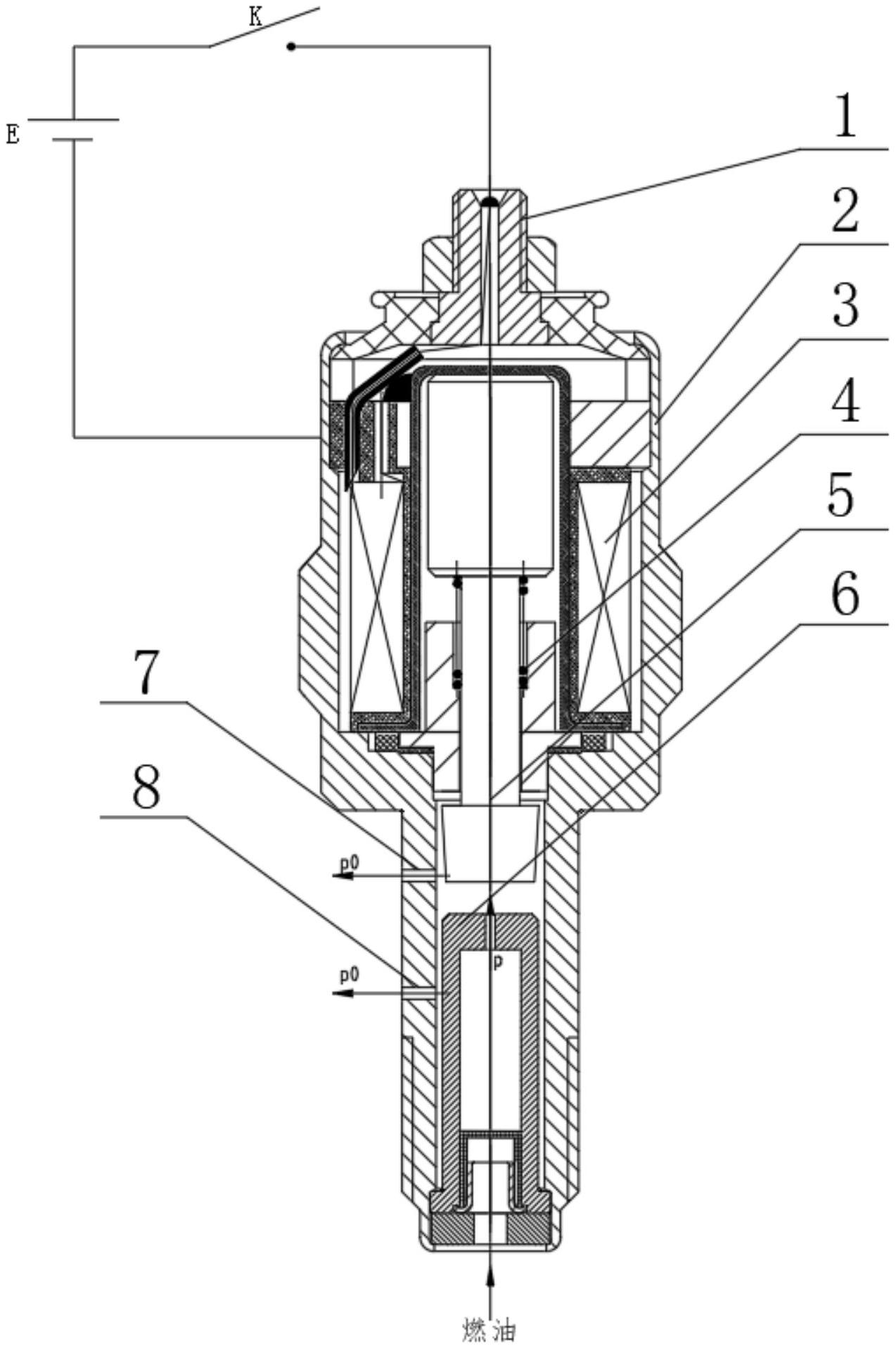
摘要附图摘要一种具有多个回油孔的回油阀,包括阀体,具有一个容纳腔
图片尺寸1274x1918
回油阀19
图片尺寸1072x734
测绘回油阀(课堂ppt)
图片尺寸920x690
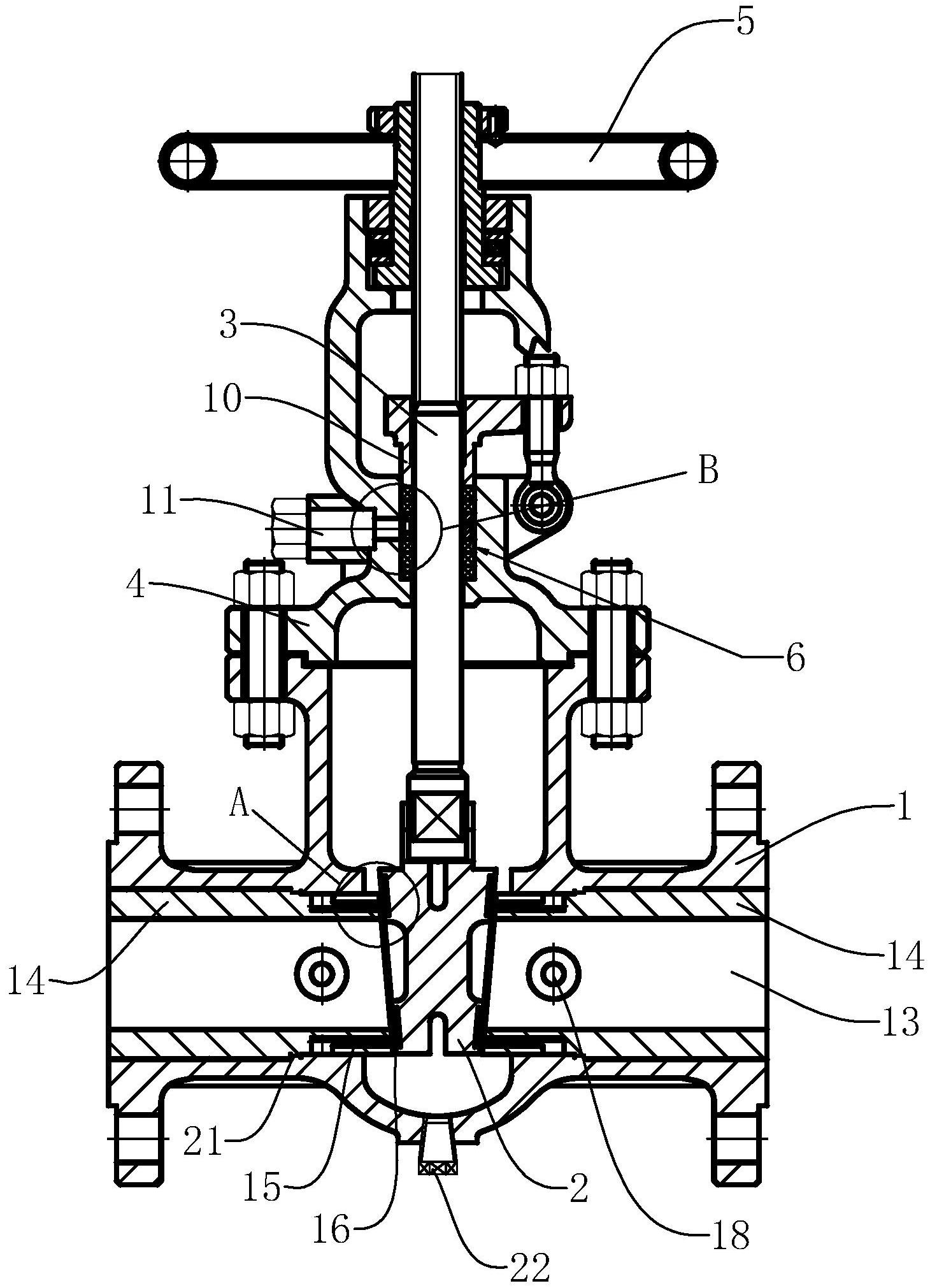
摘要附图摘要本实用新型公开了一种差压油密封楔式闸阀,包括阀体,闸板
图片尺寸1460x2021
回油阀阀体工程图主视图.jpg
图片尺寸1004x738
回油阀装配图
图片尺寸920x690
一种直线式四通流体换向阀-爱企查
图片尺寸1652x2832
使油液只能在一个方向上流动,其反方向被堵塞,故又称为止回阀
图片尺寸2000x1510
阀的进油口,回油口都设置在进油阀体上.
图片尺寸740x556
cn213655820u_一种消音止回阀阀体有效
图片尺寸1589x1128![10装配图_拼画回油阀[23p][5.08mb]](https://imgs.wantubizhi.com/img/735A5D1F980B52A636CC46F12F2D1A7353DC16ACB2D21281BE300C9223298EE2CB6288A7E11780177FD164C8058C1B7433AAE497857CE5CB2F838B174E593FE3C46D0FD90E6FFA53A497FB945F80CBC513E698B776EA6CD0406EA0E99F50C097)
10装配图_拼画回油阀[23p][5.08mb]
图片尺寸1080x810