固定支架结构图

管道支架(固定,滑动)详图
图片尺寸560x393
新型公开了一种软包锂电芯固定支架,包括支架本体,支架本体为方框结构
图片尺寸1648x1179
管道支架是指用于地上架空敷设管道支承的一种结构件,分为固定支架
图片尺寸972x1000
单管纵向抗震支吊架大样图
图片尺寸709x538
一种工程机械管道固定支架的制作方法
图片尺寸901x1000
一种固定在钢结构上的管道支吊架的制作方法
图片尺寸884x1000
一种可快速装配成组管道的固定支吊架的制作方法
图片尺寸888x1000
一种高稳定性抗震支架的制作方法
图片尺寸693x1000
钢结构抗震支架大样图
图片尺寸768x550
一种用于屋面光伏阵列的固定支架结构
图片尺寸2080x1496
一种屋面光伏电站逆变器固定支架结构
图片尺寸1310x1373
一种铁路路基电缆支架
图片尺寸1000x982
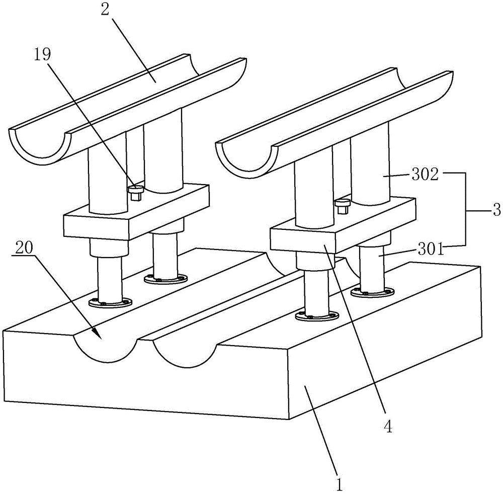
cn209523480u_一种并排抱结构梁组合固定支架构造有效
图片尺寸1000x801
一种骨科外固定支架的制作方法
图片尺寸728x1000
一种线束固定支架的制作方法
图片尺寸1000x522
本实用新型公开了一种电缆用安装支架,包括固定块,所述固定块的外侧
图片尺寸1000x913
本实用新型属于汽车结构领域,尤其涉及一种驾驶室固定支架.
图片尺寸1000x771
一种钢结构固定辅助支架的制作方法
图片尺寸797x1000
本发明涉及建筑结构领域,特别是涉及一种用于水平构件的双层支架.
图片尺寸1000x925
树苗支架顶部固定结构的制作方法
图片尺寸1000x833