固定翼航模设计图纸

mini dlg - 电动遥控固定翼-5imx.
图片尺寸1024x768
一种电动遥控固定翼飞机模型-爱企查
图片尺寸2803x1831
744纸模图纸 这是啥航
图片尺寸960x1280
航空机械网站建设方案_(航空机械网站建设方案范文)
图片尺寸1284x840
离图纸完工又迈出一步#是时候展现真正的技术了 #航模固定翼 - 抖音
图片尺寸1081x725
只有这几个航模图纸,不多,但是私信我可以把全部发出来
图片尺寸1080x1080
寻求航模飞机制作图纸
图片尺寸3585x2891
速刻航空atr-72飞机纸模图纸(虚拟航司)
图片尺寸1024x576
航模飞机图纸27套
图片尺寸942x1057
一种固定翼手抛式航模
图片尺寸1944x916
一种可倾斜摄影航测的固定翼无人机系统
图片尺寸2664x1333
固定翼单座轻型飞机图纸
图片尺寸920x1301
飞机模型
图片尺寸675x900
dc10纸模图纸
图片尺寸1080x1439
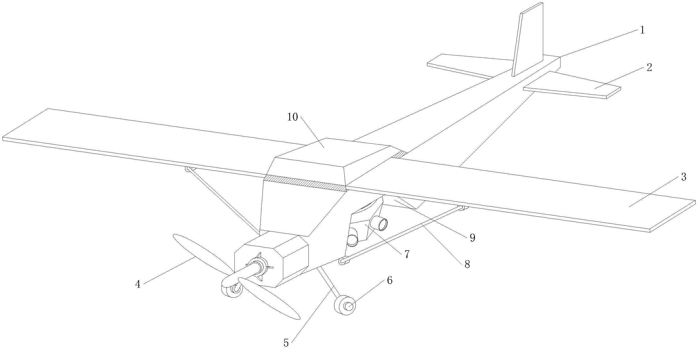
一种固定翼航模的制作方法
图片尺寸1000x576
cn209108609u_一种基于碳杆的固定翼航模结构有效
图片尺寸1000x703
第1页 相关主题 你可能喜欢 遥控飞机制作 航模制作 飞机模型图纸
图片尺寸4297x3975
固定翼航模无人机基础知识及入门训练固定翼航模小白必看
图片尺寸769x391
本实用新型属于航模设计技术领域,具体涉及到一种三角翼飞机航模.
图片尺寸796x1000
一种可拆卸式固定翼航模飞机的制作方法
图片尺寸948x723