固端梁示意图

第二节钢筋混凝土桥面——梁端桥面板 梁端桥面板:梁端桥面板必须加强
图片尺寸1080x810
图2.7 常用的微开关结构示意:(a)悬臂梁;(b)固支梁
图片尺寸3543x2878
均布载荷固端梁内力重分布解析
图片尺寸440x254
一端简支另一端固定梁
图片尺寸854x1007
梁端锚固的缺陷及加固措施
图片尺寸478x263
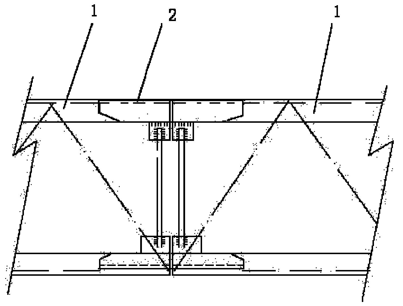
电动葫芦桥式起重机主端梁连接示意图
图片尺寸604x312
求解一端固定一段铰接的梁在部分梯形荷载作用下的固端弯矩和跨中最大
图片尺寸626x455
起重机主梁和端梁连接
图片尺寸600x375
次梁传到主梁上的集中力,但正好落在主梁的两端,请问计算主梁的固端
图片尺寸520x604
引桥双层混凝土连续梁桥中支点布置图
图片尺寸760x636
什么是中横梁和端横梁
图片尺寸600x337
有粘结梁张拉端,固定端构造示意图
图片尺寸560x219
三角梁,包括两根定尺角钢,在两根定尺角钢的连接端部覆盖有连接角钢
图片尺寸1400x1062
两端固支一端固支一端固定铰支一端固支一端可移动铰支悬臂梁梁的类型
图片尺寸877x463
a1-端梁.dwg
图片尺寸1200x800
所述支撑架前后成对存在且支撑架上端头之间水平固接有双悬梁,所述双
图片尺寸1883x1619
悬臂梁,固端梁和连续梁都是利用支座上的卸载弯矩去减少跨中弯矩,以
图片尺寸537x351
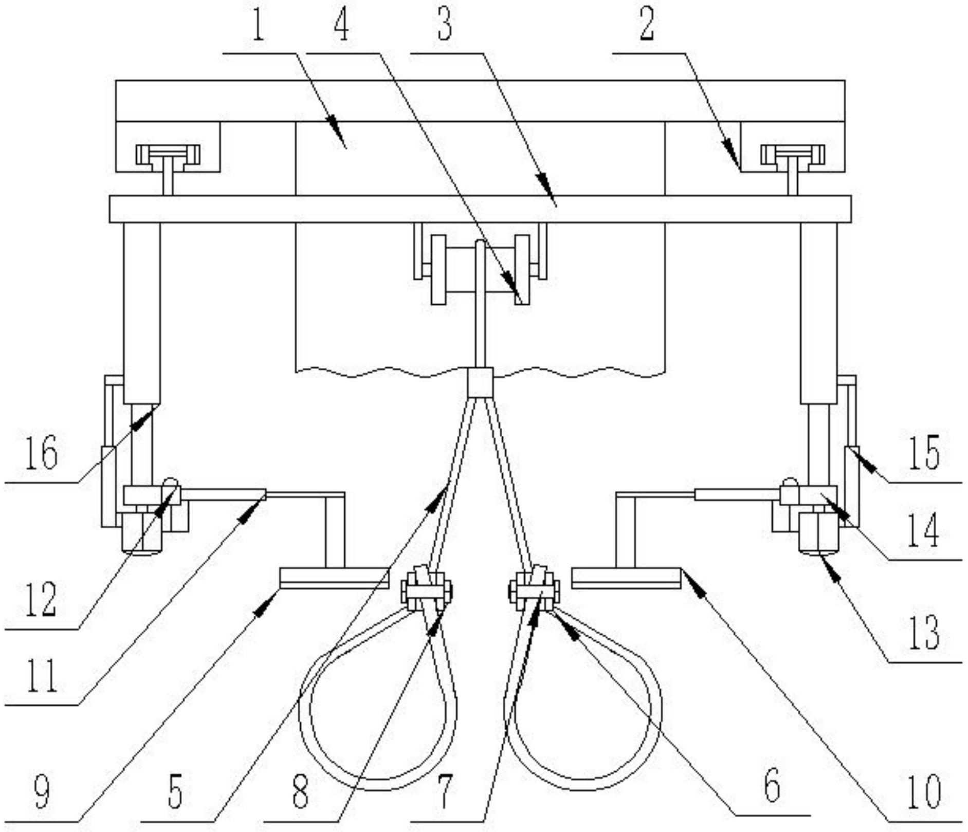
cn102615507a_起重机端梁加工机构以及加工方法有效
图片尺寸1544x1191
固结墩墩梁连接构造图
图片尺寸560x420
筋锚上以框钢楼直架可层部吗梁
图片尺寸376x440