圆管伸缩锁紧装置

机械锁紧装置,不错的,带所有特征(sw格式)
图片尺寸1112x810
一款锁紧释放装置
图片尺寸300x225
推荐产品-yg圆钢吊钳
图片尺寸429x209
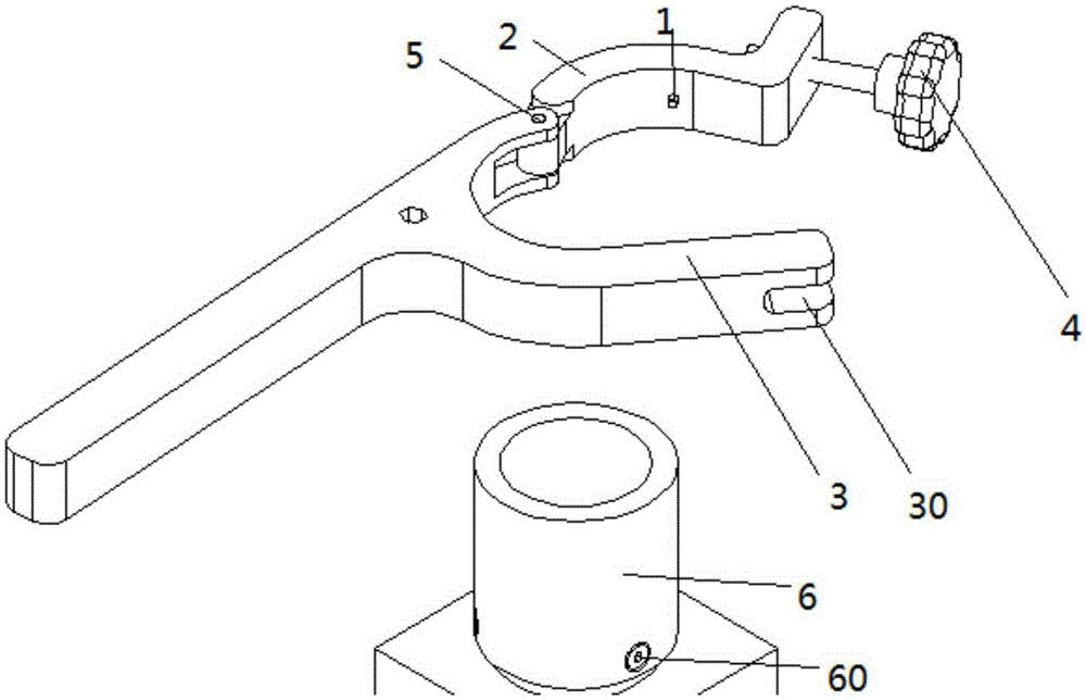
锁紧装置制造方法及图纸,圆管伸缩锁紧装置专利_技高网
图片尺寸268x948
漂亮旋钮压缩密封柜锁ms309-7伸缩收紧圆柱转舌锁 防震机车拉紧锁
图片尺寸383x477
发明一种混凝土预制圆管内模具授权转让我要购买申
图片尺寸392x443
固定底座,第一滚轮装置,第二滚轮装置,第三滚轮装置和锁紧装置;所述
图片尺寸1626x1748
厂家直销摄影,伸缩管锁紧旋钮 cnc数控加工 可来图来样加工定制
图片尺寸750x950
一种伸缩管锁紧结构的制作方法
图片尺寸818x1000
该有孔圆管的旋紧结构紧顶螺丝,锁紧环,手柄,以及圆管;所述紧顶螺丝
图片尺寸1000x644
图片
图片尺寸640x417
一种用于安防设备的底盘锁紧装置的制作方法
图片尺寸1000x484
一种锁紧装置及设有该锁紧装置的伸缩支架的制作方法
图片尺寸331x595
一种杆管伸缩锁紧装置的制作方法
图片尺寸735x1000
轴向锁紧装置
图片尺寸1866x2741
一种装车鹤管安全锁紧器
图片尺寸1790x1219
模块化竖向大变位伸缩装置
图片尺寸600x410
钢丝扣卡扣锁线器固定可调伸缩铝扣钢丝绳锁紧器钢丝吊码配件小号锁线
图片尺寸1250x1600
包括由板材卷合而成的内模筒体,内模筒体内设置撑杆装置和锁紧装置
图片尺寸319x360
模数式伸缩装置@模数式伸缩装置厂家
图片尺寸1024x768