圆锥孔

圆锥公差与检测ppt
图片尺寸1080x810
圆锥孔ppt
图片尺寸1080x810
技术制图 圆锥的尺寸和公差注法
图片尺寸958x1300
锥形孔如何画螺纹
图片尺寸604x546
有孔平面基板
图片尺寸650x350
锥形孔板孔问题咨询
图片尺寸1304x847
技术制图 圆锥的尺寸和公差注法
图片尺寸934x1300
檀工宜兴紫砂壶制作专用工具做茶壶工具壶盖锥形孔三角刀紫光檀木
图片尺寸1280x1280
实力厂家定制直径30mm卫浴304不锈钢花洒片 蚀刻锥形网孔花洒片
图片尺寸1200x1200
sw工程图中锥形孔的公差怎么标注
图片尺寸283x305
常见的圆锥孔结构中,大端直径d,圆锥角a(锥度c),圆锥长(高)度h各参数
图片尺寸1477x1644
订做电镀锥形带柄磨轮淬火料内孔倒角90度cbn磨头氮化硼伞形打磨器
图片尺寸800x800
pcb上怎么绘制开成锥形孔
图片尺寸389x399
盲孔最后为什么要钻一个顶角,就是118度的圆锥孔,而不是120度呢?
图片尺寸500x500
cad标注螺丝孔尺寸
图片尺寸665x449
圆锥孔(带紧固件)
图片尺寸300x300
在机械加工中,通常采用锥度塞规涂色法作为圆锥孔加工和终检的量具
图片尺寸747x544
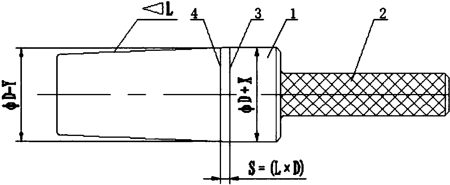
cn106643423a_一种圆锥孔孔口检测方法失效
图片尺寸1521x626
一种pcb锥形孔制作方法与流程
图片尺寸584x470
圆锥孔参数侧量原理如图2所示,圆锥孔参数中的圆锥角(锥度),大端直径
图片尺寸1393x1536