圣东尼无缝针织机原理

现场 | 积极构建针织圆机产业系统,圣东尼(上海)完成对terrot的收购
图片尺寸1080x1266
【相约上海 · 10月14-18日】圣东尼(上海)针织机器有限公司即将亮相
图片尺寸384x453
p>无缝内衣机是生产无缝针织品的新颖的专用成型生产设备,可用于制作
图片尺寸1205x1387
圣东尼(上海)收购德国领先针织机械制造商terrot
图片尺寸1080x720
【相约上海 · 10月14-18日】圣东尼(上海)针织机器有限公司即将亮相
图片尺寸355x473
记者走进位于山阳镇山富东路55弄的圣东尼(上海)针织机器有限公司研发
图片尺寸1080x810
圣东尼sm8无缝织机:8路编织随心所欲
图片尺寸1440x1050
【相约上海 · 10月14-18日】圣东尼(上海)针织机器有限公司即将亮相
图片尺寸385x507
纺织机械之开棉机
图片尺寸1015x580
灵之舞 的想法: 无缝针织技术,现代化服装织造工艺 | 一,什么是无缝
图片尺寸3378x4966
圣东尼解码可持续关键词之无缝
图片尺寸650x435
片梭织机
图片尺寸413x311
一种用于织取双层透气面料的织机结构
图片尺寸1046x1052
燃脂 美腿,轻松瘦!
图片尺寸660x1019
热销二手慈星82ge仿圣东尼全自动无缝内衣机器瑜伽服泳装套装设备
图片尺寸900x900
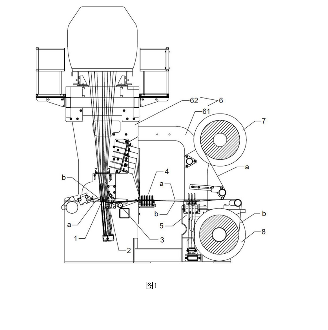
一种电脑无缝针织内衣机导纱装置的制作方法
图片尺寸350x443
本鉴定中心除了提供无缝针织机的制版培训外,还可以开展意大利圣东尼
图片尺寸660x880
圣东尼无缝内衣机程序罗纳帝袜机花型传输器fdu3针织机械配件
图片尺寸800x800
现场 | 积极构建针织圆机产业系统,圣东尼(上海)完成对terrot的收购
图片尺寸1080x720
圣东尼无缝内衣机
图片尺寸460x613