垂直翻转

垂直旋转rotomat自动仓储机(事务用)
图片尺寸288x368
用于180度垂直翻转的翻转装置的制作方法
图片尺寸1000x589
尖叫工程师让你在翻转中尖叫
图片尺寸982x1600
垂直翻转三轴1000kg变位机
图片尺寸519x357
餐厨垃圾桶电动垂直提升翻转倒料机果蔬垃圾桶提升自动倒料机
图片尺寸1440x1920
垂直翻转箭头平面图标
图片尺寸1100x1100
适用于索尼lg三星电视电动吊架32/55/65寸垂直翻转智能全自动挂架
图片尺寸800x800
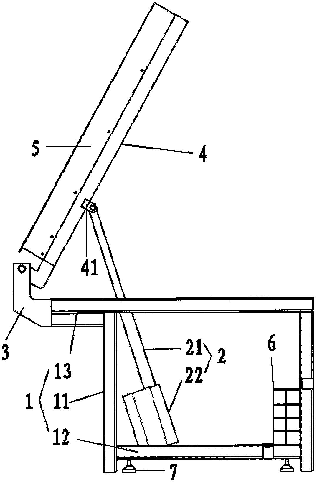
cn211055928u_用于180度垂直翻转的翻转装置有效
图片尺寸1000x588
供应安川单机焊接机器人系统垂直翻转系统弧焊机机器人焊接系统3轴
图片尺寸650x490
垂直翻转图标橡皮图章
图片尺寸425x1200
正品保障三轴垂直翻转型变位机 伺服控制高精度旋转焊接平台
图片尺寸750x750
焦作自动焊接机器人三轴垂直变位机机器人变位机工装厂家
图片尺寸1000x750
垂直翻转变位机
图片尺寸685x598
垂直翻转变位机
图片尺寸820x546
垂直翻转图标
图片尺寸1100x1100
三轴垂直翻转变位机thh 伺服电机驱动,提高重复定位精度.
图片尺寸608x550
首先就是这个"垂直翻转"的功能是在-特效-视频特效-变换里面
图片尺寸1000x562
垂直翻转装置的制作方法
图片尺寸729x573
一种垂直翻转运输机构的制作方法
图片尺寸1000x822
一种可垂直升降翻转的电子作战指挥沙盘
图片尺寸1076x1635