堆肥箱制作原理
 - 堆肥桶 厨余桶 蚯蚓粪肥 蚯蚓堆肥桶 蚯蚓发酵堆肥箱 蚯蚓养殖箱 黑色图片尺寸990x1486
 - 3种菌剂对小麦秸秆好氧堆肥降解效果比较图片尺寸1575x1167
 - 一种家庭厨余垃圾蚯蚓堆肥箱的制作方法图片尺寸811x1000
 - 75如何省钱且环保的制作蚯蚓堆肥箱07图片尺寸1080x1080
 - 自制堆肥箱 高温/波卡西 - 手把手制作教程图片尺寸1080x1080
 - 自制堆肥桶记录图片尺寸1080x1439
 - 一种处理多种固体废物的堆肥新装置的制作方法图片尺寸1000x957
 - 污泥堆肥污泥生物堆肥固体废物堆肥污泥发酵堆肥技术系统设备图片尺寸1202x477
 - 自制堆肥箱第一次收获液肥图片尺寸1080x1279
 - 好用的堆肥箱图片尺寸1080x1440
 - 本次工作坊将会教授大家制作蚯蚓塔,堆肥箱.图片尺寸793x709
 - 农村有机固废两段式好氧协同堆肥效果分析图片尺寸3150x1152
 - 一种农用有机肥堆肥发酵箱的制作方法图片尺寸1000x912
 - 新做了两个堆肥箱图片尺寸1080x1439
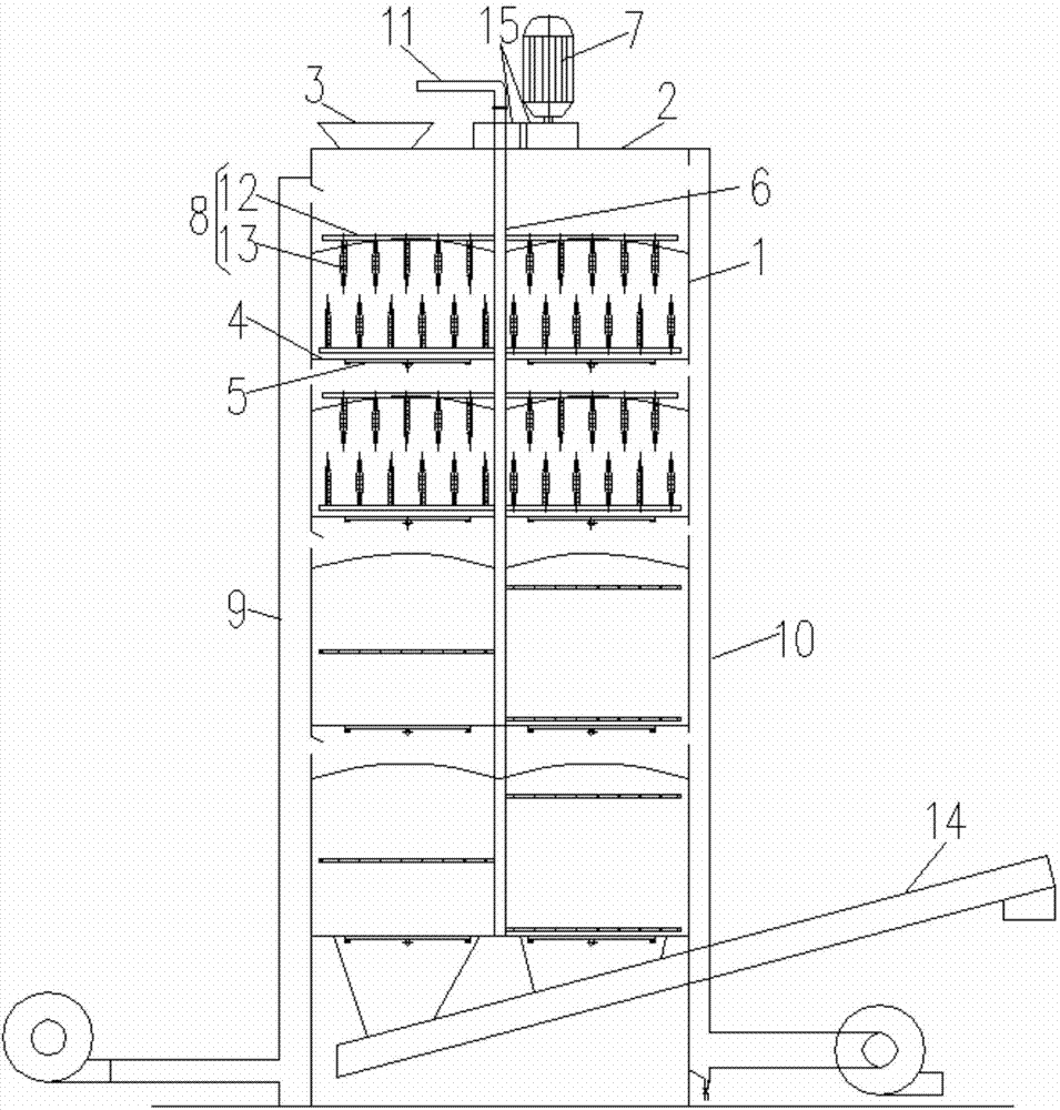
 - 一种立式多层好氧生物堆肥装置图片尺寸955x1000
 - 露台版堆肥箱图片尺寸1080x1439
 - 堆肥箱图片尺寸1080x810
 - 生活垃圾堆肥工艺仿真软件图片尺寸554x369
 - 一种厨余垃圾脱水堆肥工艺及系统图片尺寸1154x1183
 - 高温堆肥图片尺寸1080x809