堤防的构造

码头施工 应急预案 防波堤设计 防波堤规范 堤防工程施工组织设计
图片尺寸1080x810
为什么退水期间堤防更容易发生溃堤
图片尺寸740x510
柔性堤防高枕无忧
图片尺寸699x255
直立式防波堤-知识服务助手
图片尺寸522x506
一种堤防的制作方法
图片尺寸1000x551
堤防抢险图说
图片尺寸538x326
武汉人必须熟知的堤防抢险技术!
图片尺寸566x331
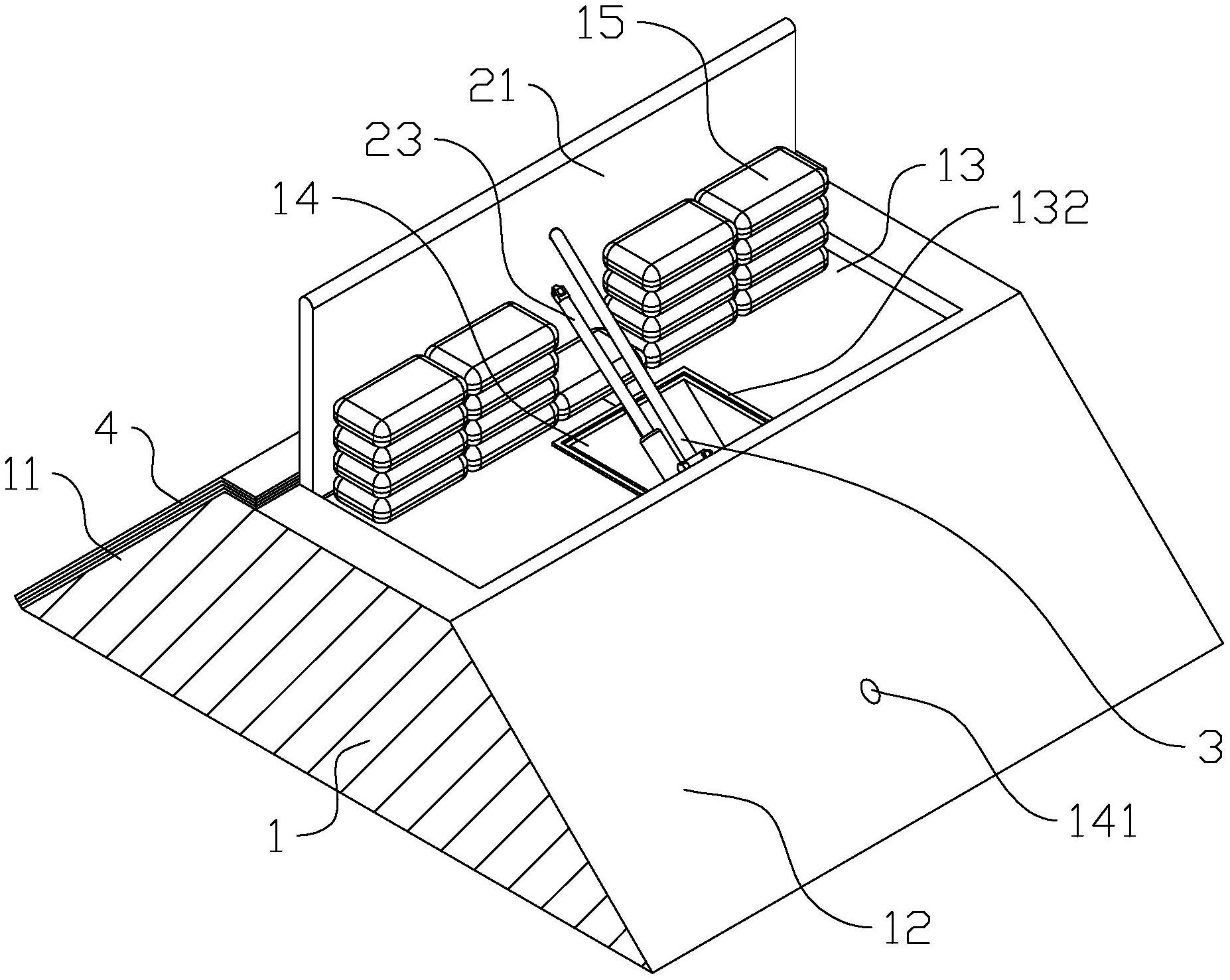
一种水利防洪堤防结构
图片尺寸1854x1477
一种水利防洪堤防结构
图片尺寸1980x1725
堤防抢险人员速看!32张图帮你应对9种险情
图片尺寸640x375
一种柔性的浮式防波堤
图片尺寸2705x1848
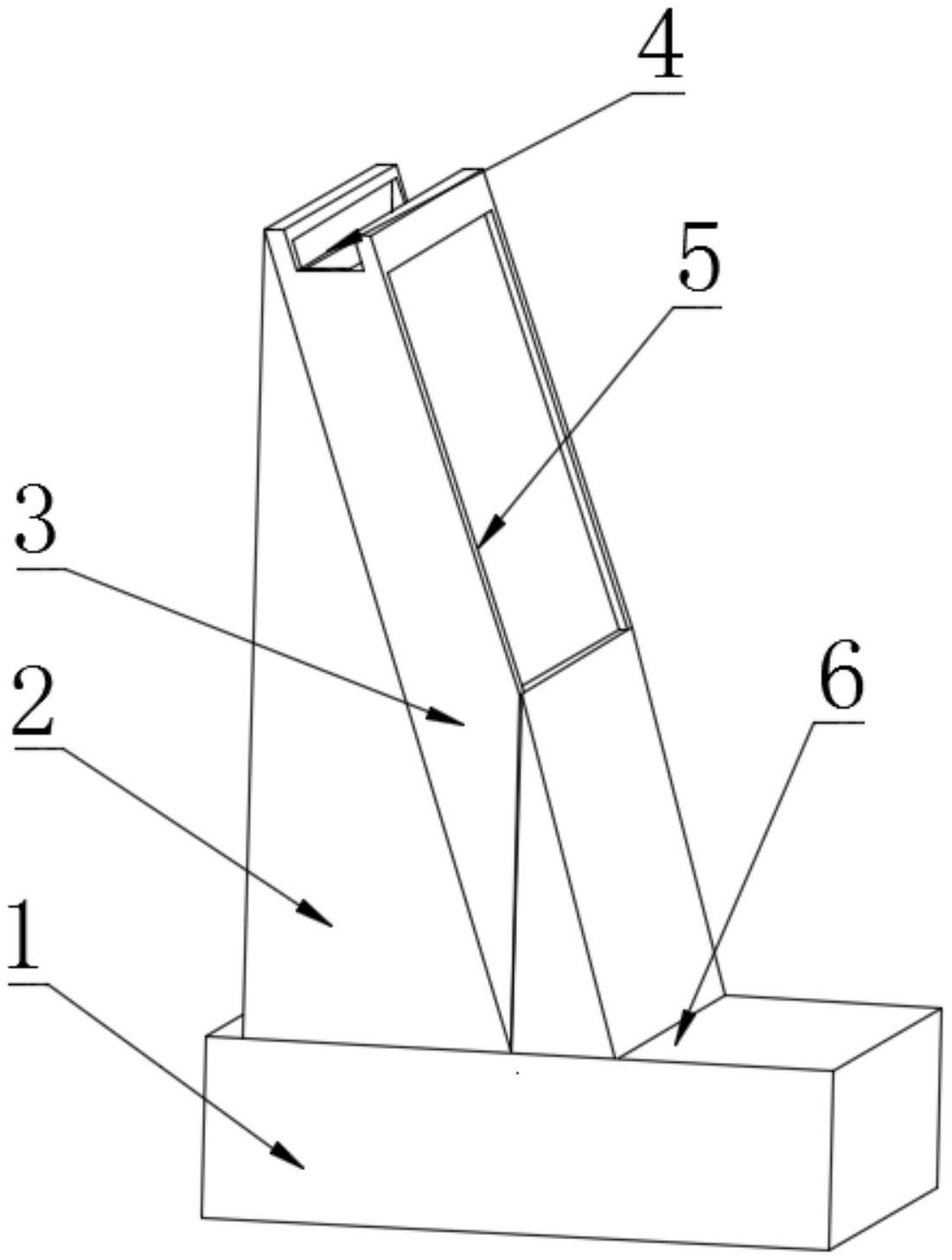
一种河流抗冲堤防
图片尺寸1101x1457
消防救援队伍堤防抢险技术
图片尺寸601x424
第章海堤2海堤构造1.ppt
图片尺寸1152x864
秦皇岛土工布供应厂家销售14753821212张
图片尺寸352x207
苏州某堤防工程其他施工设计cad图纸(含堤后护坡设计图)
图片尺寸1440x1020
一种河流抗冲堤防制造技术
图片尺寸1000x907
手工绘制的堤防抢险示意图
图片尺寸568x398
海堤双排钢板桩加固结构示意图施工难点既有的海岸堤防结构构筑于软弱
图片尺寸425x320
手工绘制的堤防抢险示意图!
图片尺寸570x366