塑钢焊机故障图解

焊机故障一览表(奥太)
图片尺寸673x903
奥太aotai逆变式多功能氩弧焊机,wsme-630Ⅲ(多输出波形焊机)-晨光
图片尺寸790x831
bx系列焊机常见故障及其排除
图片尺寸1508x2060
逆变焊机故障维修实例汇总讲解
图片尺寸640x1153
电焊机修理视频教程
图片尺寸500x375
电焊机作业安全管理(50页)_手机搜狐网
图片尺寸1920x1440
大焊气保焊机分体机分体式nbc500二氧化碳气体保护焊二保焊机气保焊机
图片尺寸790x1171
华远wsm-315igbtpro直流脉冲氩弧焊机氩焊电焊两用 - 爱企查
图片尺寸750x910
防渗膜焊接机防水板排水板pe土工膜pvc卷材双焊缝爬焊机热熔焊机 热
图片尺寸800x1100
瑞凌二保焊机nbc-251/350/500分体气体保护焊机_供应产品_经营范围
图片尺寸790x1000
气保焊机 工作效率高 焊接成形美观 使用简单方便
图片尺寸750x750
电焊机315400双电压220v380v家用两用全自动工业级焊机模块400双电
图片尺寸1500x1920
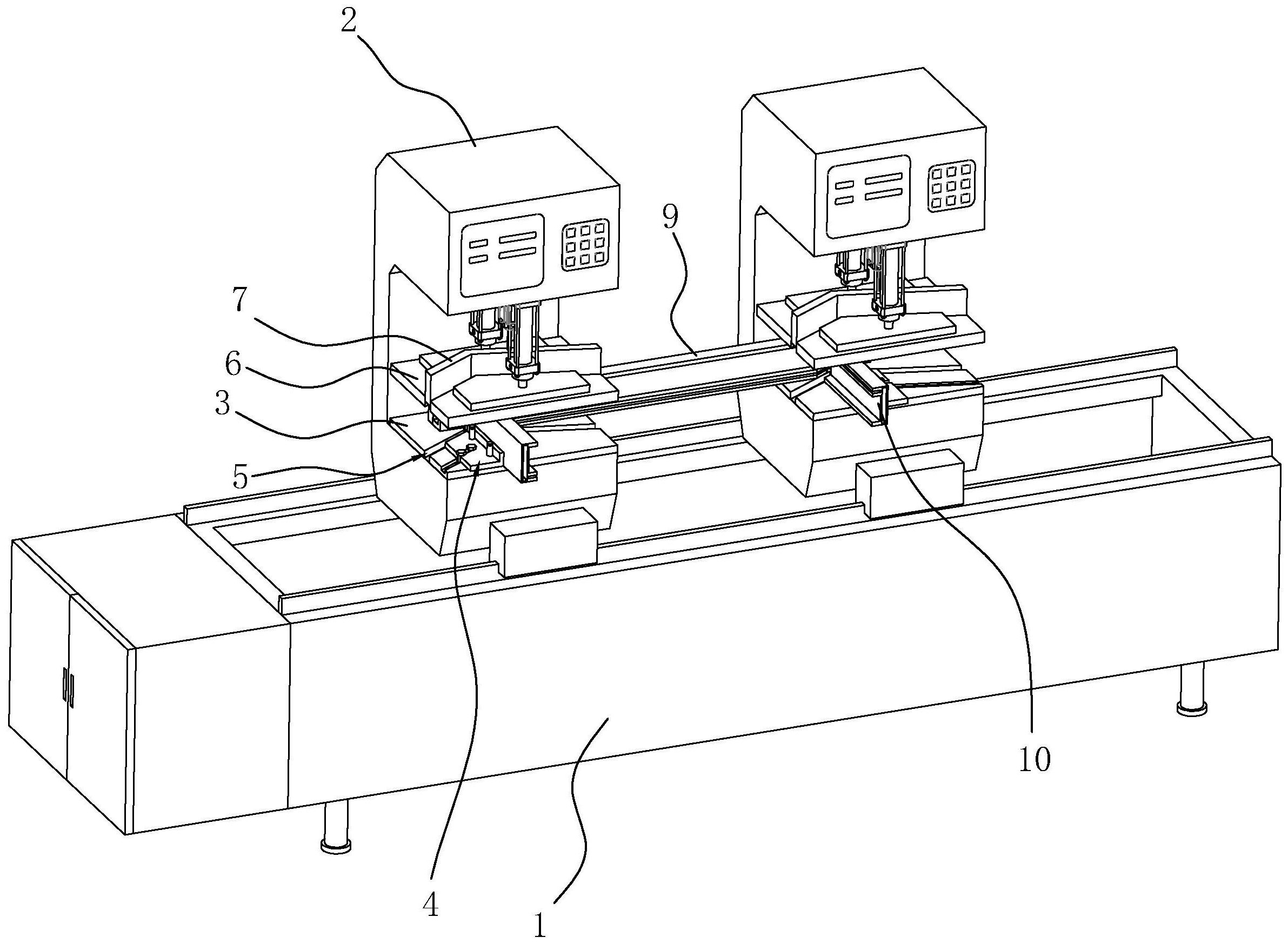
cn212826883u_一种压紧稳定的门窗塑钢焊机
图片尺寸2383x1747
cn2361458y_塑钢门窗手动焊机失效
图片尺寸685x948
塑钢焊接机,机柜面板
图片尺寸1600x1200
出售二手塑钢焊机一台 七成新 二位 现低价4000元处理 http://shebei
图片尺寸640x480
吉林塑钢门窗设备【二位焊接机】批发价格
图片尺寸636x360
塑料四位无缝焊接机,彩色塑钢门窗加工设备,塑钢门窗制作机械报价
图片尺寸1000x527
塑钢门窗设备 四位焊机 操作方便
图片尺寸600x450
塑钢焊机
图片尺寸500x350