塔式反应器设计

一种臭气自净化多层塔式好氧堆肥反应器
图片尺寸1607x1941
一种环流形塔式反应器
图片尺寸937x2389
化学反应器有哪些
图片尺寸900x1041
一种高效颗粒污泥厌氧塔反应器-爱企查
图片尺寸820x1142
一种多相催化塔式碰撞流反应器
图片尺寸1872x1770
塔式反应器cad图纸dwg图纸
图片尺寸599x707
cn100491439c_塔式反应器及其连续制备高分子量聚酯的用途失效
图片尺寸1785x2709
一种多相催化塔式碰撞流反应器
图片尺寸800x772
一种好氧堆肥含氨臭气自净化塔式反应器
图片尺寸320x444
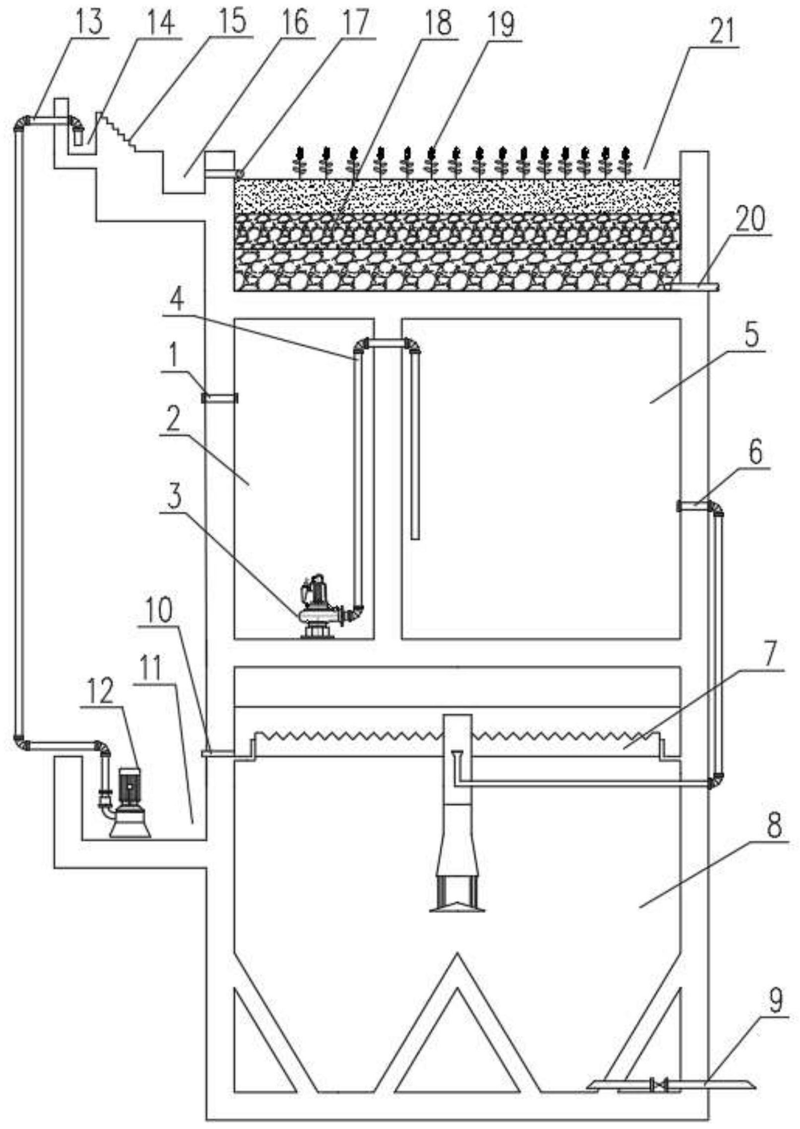
一种农村废水生态化处理的塔式反应器及处理方法
图片尺寸1612x2275
一种合成乙醛酸的塔式反应器的制作方法
图片尺寸454x879
一种合成氯乙烯的塔式反应器及其应用的制作方法
图片尺寸413x443
塔式反应器示意图
图片尺寸400x326
鼓泡塔反应器综述只是分享.doc
图片尺寸792x1120
一种用于合成环己基甲酸的塔式反应器的制作方法
图片尺寸1000x834
塔式反应器ppt
图片尺寸1080x810
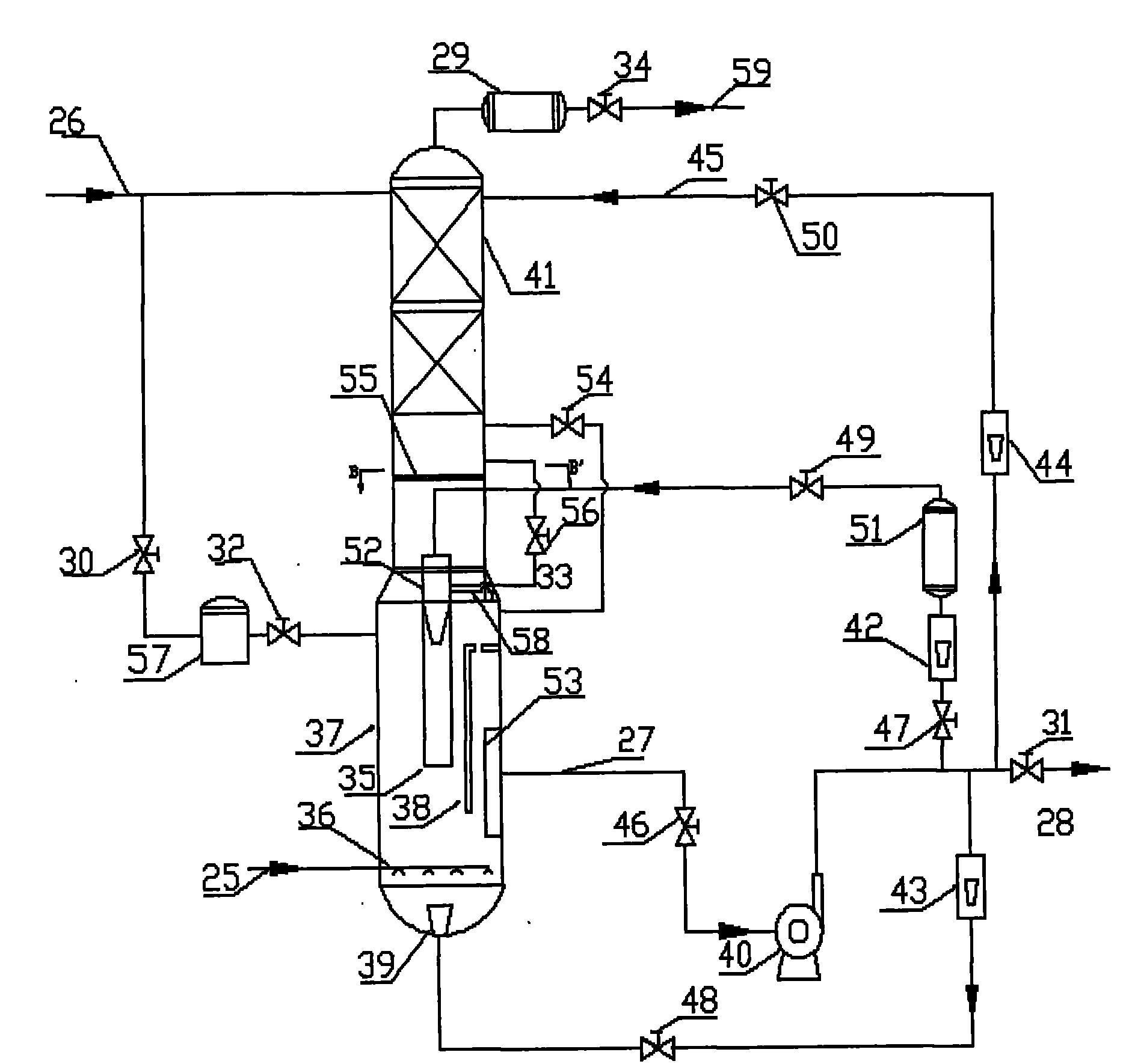
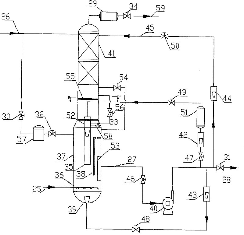
一种用于硫氢化钠生产的新型塔式反应器
图片尺寸1433x1775
一种用于硫氢化钠生产的新型塔式反应器的制作方法
图片尺寸807x1000
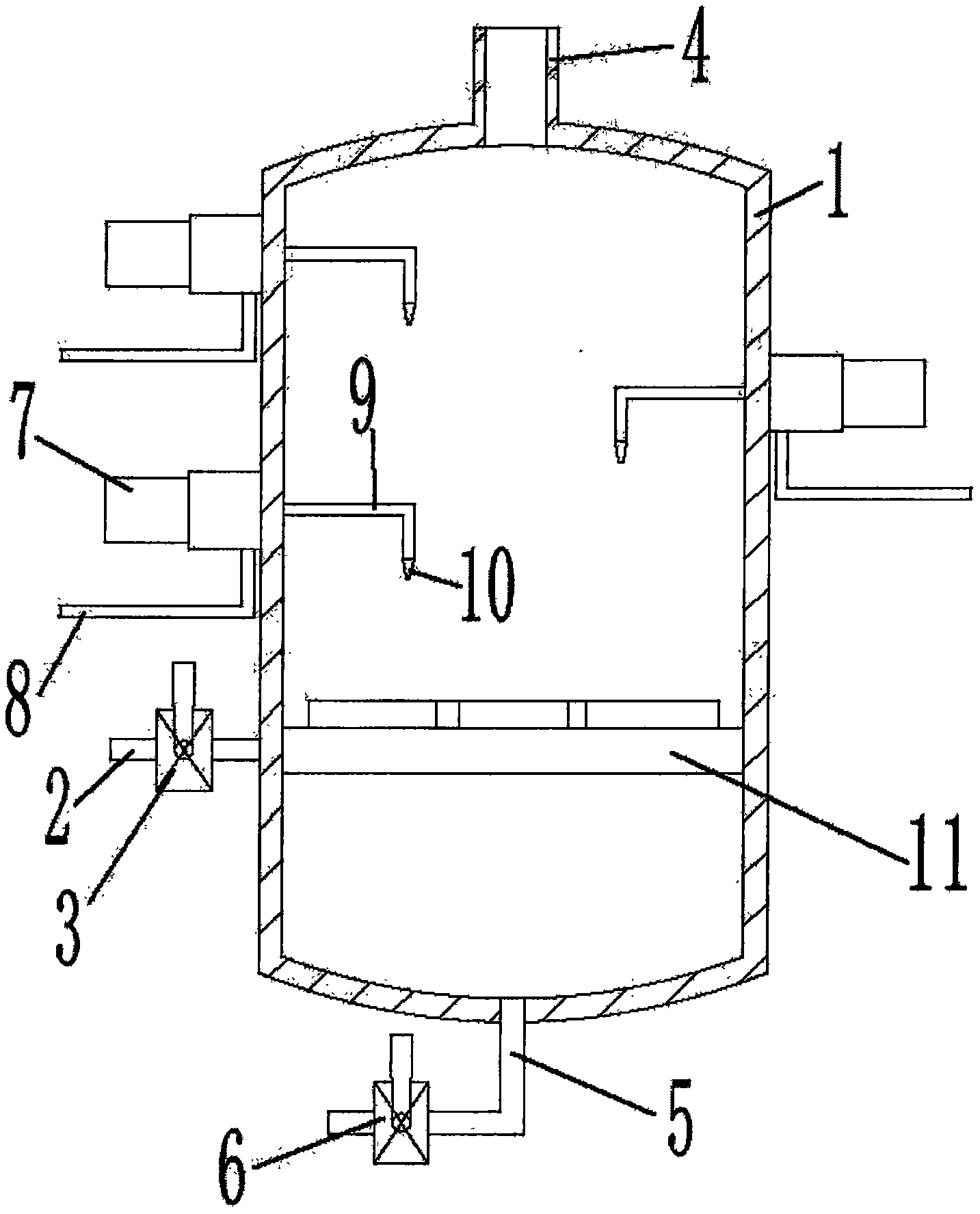
一种竖流式塔式生物反应器的制作方法
图片尺寸685x1000
塔板式光催化膜反应器
图片尺寸288x444