填料精馏塔结构图

一种精细化工用填料精馏塔-爱企查
图片尺寸1463x2539
精馏塔
图片尺寸300x678
绍兴高端填料塔
图片尺寸749x521
精馏塔的结构简图
图片尺寸1499x2201
精馏干货20填料塔的原理及结构一看就懂
图片尺寸640x480
精馏塔设计图(参考)
图片尺寸1222x1725
精馏塔装配图_第1页
图片尺寸920x1302
规整填料精馏塔
图片尺寸406x1129
高效规整填料塔的设计及精馏节能技术74页ppt
图片尺寸1080x810
填料塔示意图
图片尺寸268x267
典型的精馏塔结构 f - 加料; d - 塔顶采出; w - 塔釜采出; l - 回流
图片尺寸1080x810
有没有填料精馏塔的设计图 请发给我348296484@qq.com 万分感激
图片尺寸375x320
一种填料式精馏塔
图片尺寸311x375
化工厂填料塔和板式塔该如何区分?它们都有哪些特点?
图片尺寸682x688
3万吨甲醇-水填料精馏塔cad图纸.rar
图片尺寸2338x1653
苯甲苯连续精馏塔
图片尺寸2338x1653
精馏塔设计图(参考版)
图片尺寸893x1263
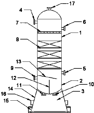
一种丝网填料精馏塔的制作方法
图片尺寸921x1000
cn101402000a_板翅式填料精馏塔失效
图片尺寸1475x2611
一种分子蒸馏用的改进型塔板填料式精馏塔
图片尺寸1555x1980