增压回路

增压回路
图片尺寸720x983
空气增压泵回路图
图片尺寸766x435
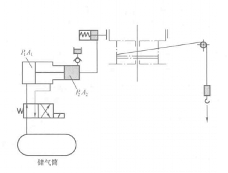
b双作用增压器的增压回路
图片尺寸640x839
首页 张家界生活服务 张家界保险柜维修 图示双作用增压缸的增压回路
图片尺寸439x531
增压回路是功用是什么常用的增压回路有哪些
图片尺寸403x602
增压回路
图片尺寸640x590
增压系统
图片尺寸780x1040
单作用增压器的增压回路
图片尺寸414x411
基于amesim的增压回路仿真分析
图片尺寸1065x843
液压系统中的增压回路类型有哪些?
图片尺寸700x400
011-012液压作业答案
图片尺寸1187x854
请问:下图为液压传动中的增压基本回路,它是如何进行传动的?
图片尺寸380x396
确实够强悍 你知不知道涡轮增压分几种?
图片尺寸500x550
反应釜增压系统回路图
图片尺寸708x338
气体增压系统回路图
图片尺寸639x320
增压回路
图片尺寸789x597
增压器原理图
图片尺寸405x579
1.单级调压回路 a.调整系统压力并保持恒定 b.限制系统最高压力
图片尺寸1080x810
单作用增压缸的增压回路
图片尺寸404x466
万通汽修标准化课程体系(2011版) 电控涡轮增压控制系统
图片尺寸1080x810