复合式杠杆可伸缩

伸缩连接杆大额优惠券
图片尺寸800x800
3.学习复合杠杆.
图片尺寸2200x1650
玻纤伸缩杆2节3.6米 滚筒刷延长杆支撑杆多用途强度好-阿里巴巴
图片尺寸1200x1200
可以弯折的创意伸缩杆
图片尺寸640x853
伸缩杆
图片尺寸600x448
杠杆原理
图片尺寸713x474
新型伸缩杆
图片尺寸800x800
瑞士杠杆式擒纵系统
图片尺寸700x500
杠杆及其应用
图片尺寸920x690
杠杆,机械效率题
图片尺寸353x262
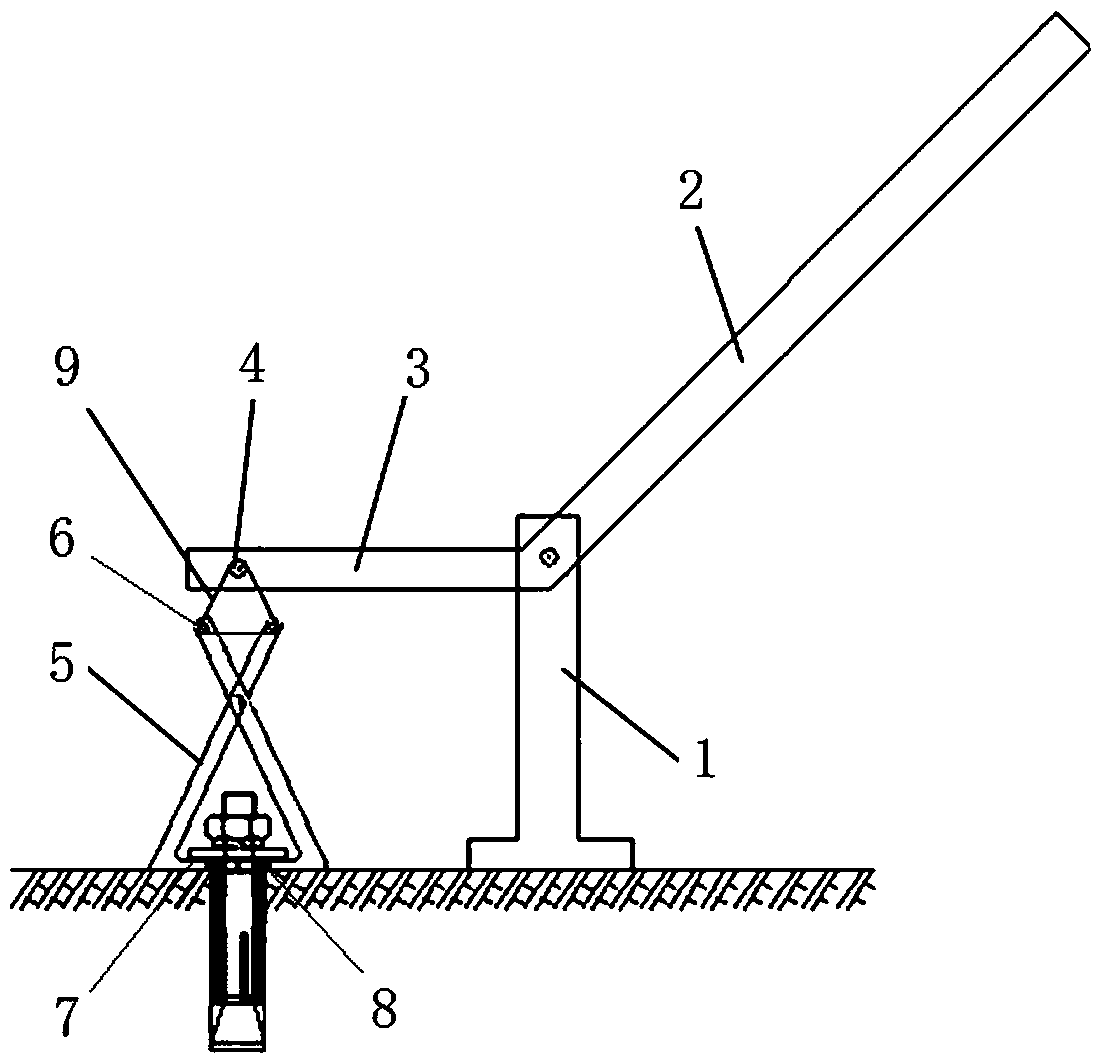
一种用于可重复利用膨胀螺栓的杠杆式拆除工具
图片尺寸1101x1062
气弹簧重型氮气液压支撑杆床用伸缩杆后备箱橱柜上翻门天窗宣传栏
图片尺寸750x1100
中考精英2017届中考物理备考(人教版)-考点总复习技能训练三 动态杠杆
图片尺寸1214x761
探究杠杆平衡条件(2)导学案
图片尺寸400x263
滑槽式杠杆回转型手爪
图片尺寸1280x720
1.2杠杆 (习题课)答案ppt
图片尺寸1080x810
带弹簧的闪亮伸缩杆铬淋浴可调节淋浴窗帘杆
图片尺寸6144x4912
一种可伸缩杠杆起重设备的制作方法
图片尺寸1000x746
通过复合式杠杆(由多个杠杆组合而成)连接菱形四边形,从而控制伸缩臂
图片尺寸750x750
伸缩手臂——同辉机器人萌五班学习记录1
图片尺寸500x333