外啮合齿轮泵结构图
 - 外啮合齿轮泵的基本结构图片尺寸554x360
 - 新闻资讯 外啮合齿轮泵基本理论知识     齿轮泵在结构上可分为外啮合图片尺寸1325x739
 - 与其他泵相比,外啮合齿轮泵具有结构简单,工作稳定,流量大,压力高等图片尺寸2870x1280
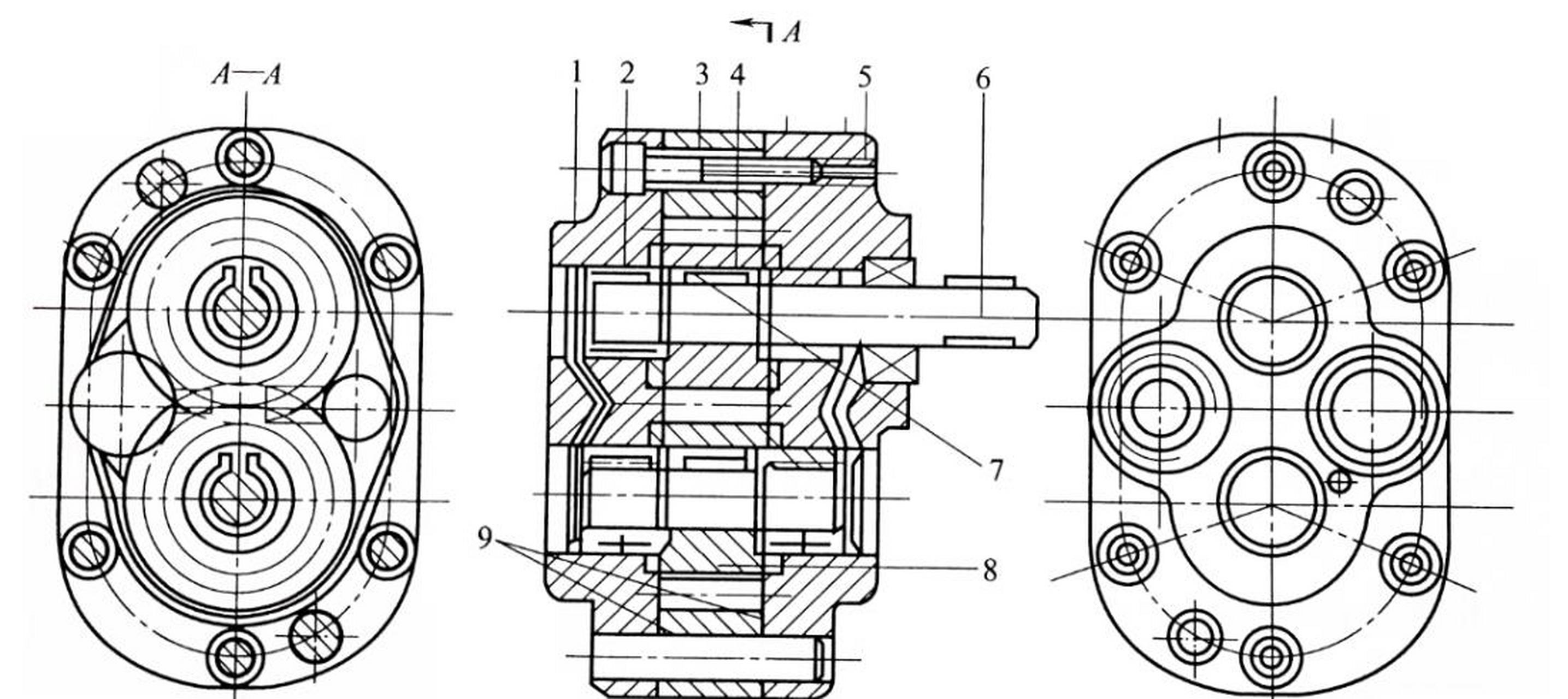
 - 外啮合齿轮泵结构如图5所示.拆开齿轮泵可检查泵的下列方面图片尺寸708x439
 - 外啮合式齿轮泵的结构和工作原理图片尺寸1000x1204
 - 外啮合齿轮泵结构和工作原理图片尺寸1345x827
 - cb-b16型外啮合齿轮泵齿轮副参数设计及其绘制(唐柑培)详解图片尺寸826x370
 - 齿轮泵的工作原理及结构             外啮合齿轮泵是应用zui广返的图片尺寸265x354
 - 图1—1 外啮合齿轮泵工作原理图图1-1是外啮合齿轮泵的结构示意.图片尺寸281x325
 - 液压外啮合齿轮泵密封结构图图片尺寸869x433
 - 外啮合齿轮油泵装配图rar图片尺寸2338x1653
 - 中高压外啮合齿轮泵毕业设计答辩ppt图片尺寸1080x810
 - 力士乐azpu系列齿轮泵规格:结构: 外啮合齿轮泵安装: 法兰或带有套管图片尺寸1285x642
 - 外啮合齿轮泵的结构图片尺寸700x733
 - 外啮合齿轮泵泵体孔加工工艺改进及专用夹具设计图片尺寸680x573
 - 力士乐内啮合齿轮泵的工作原理是怎样的图片尺寸454x548
 - 下图是外啮合齿轮泵的典型结构.图片尺寸640x480
 - 齿轮泵的结构图片尺寸920x690
 - 一个主动,一个被动,依靠两齿轮的相互啮合,把泵内的整个工作腔分两个图片尺寸615x350
 - 外啮合齿轮泵的工作原理图旁边有一个象播放器一样的箭头符号和停止图片尺寸1028x771