大寰机器人孙杰

核心团队师承戴建生院士,「大寰机器人」完成c 轮融资!
图片尺寸921x948
大寰科技创始合伙人宦晶羽分享演讲_大寰科技_高清大图_图片下载
图片尺寸3465x2305
资本寒冬,张江科学城x加速计划二期open day很热闹!
图片尺寸1080x720
深圳大寰机器人研发制造中心项目落户武高新
图片尺寸1000x666
这样的机器人经过不同方式的组合之后,就可以去到管道,桥梁,涵洞各种
图片尺寸1280x661
北京市工贸技师学院
图片尺寸850x372
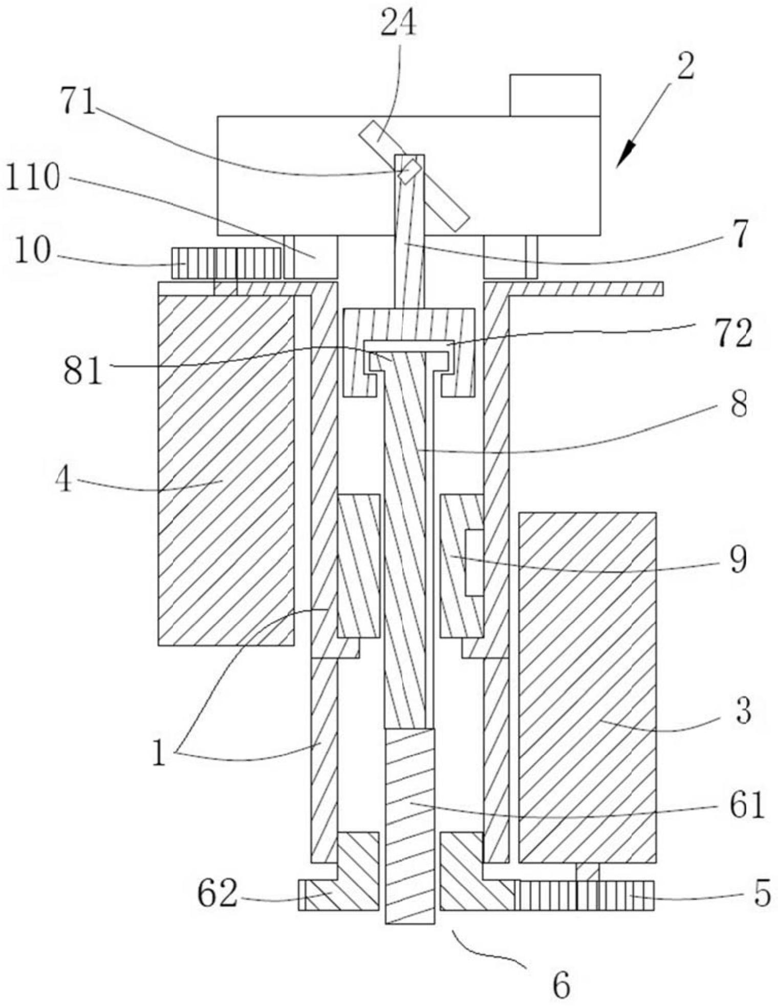
cn112171709a_一种夹爪装置在审
图片尺寸1520x1965