夹持机构

尽管有夹爪气缸可以使用,不过这个连杆夹持机构也不赖!
图片尺寸1920x1080
【机构动画】夹持器/机器人抓手_哔哩哔哩_bilibili
图片尺寸1152x720
五爪夹持机构
图片尺寸1728x1080
机械手夹持部位设计 - 五金工具图纸 - 沐风网
图片尺寸522x528
用于棒状物料夹持的机械手夹持器专利_专利申请于2018-11-29_专利查询
图片尺寸1780x1793
一种用于搪锡机器人的通用夹持装置专利_专利查询 - 天眼查
图片尺寸1832x959
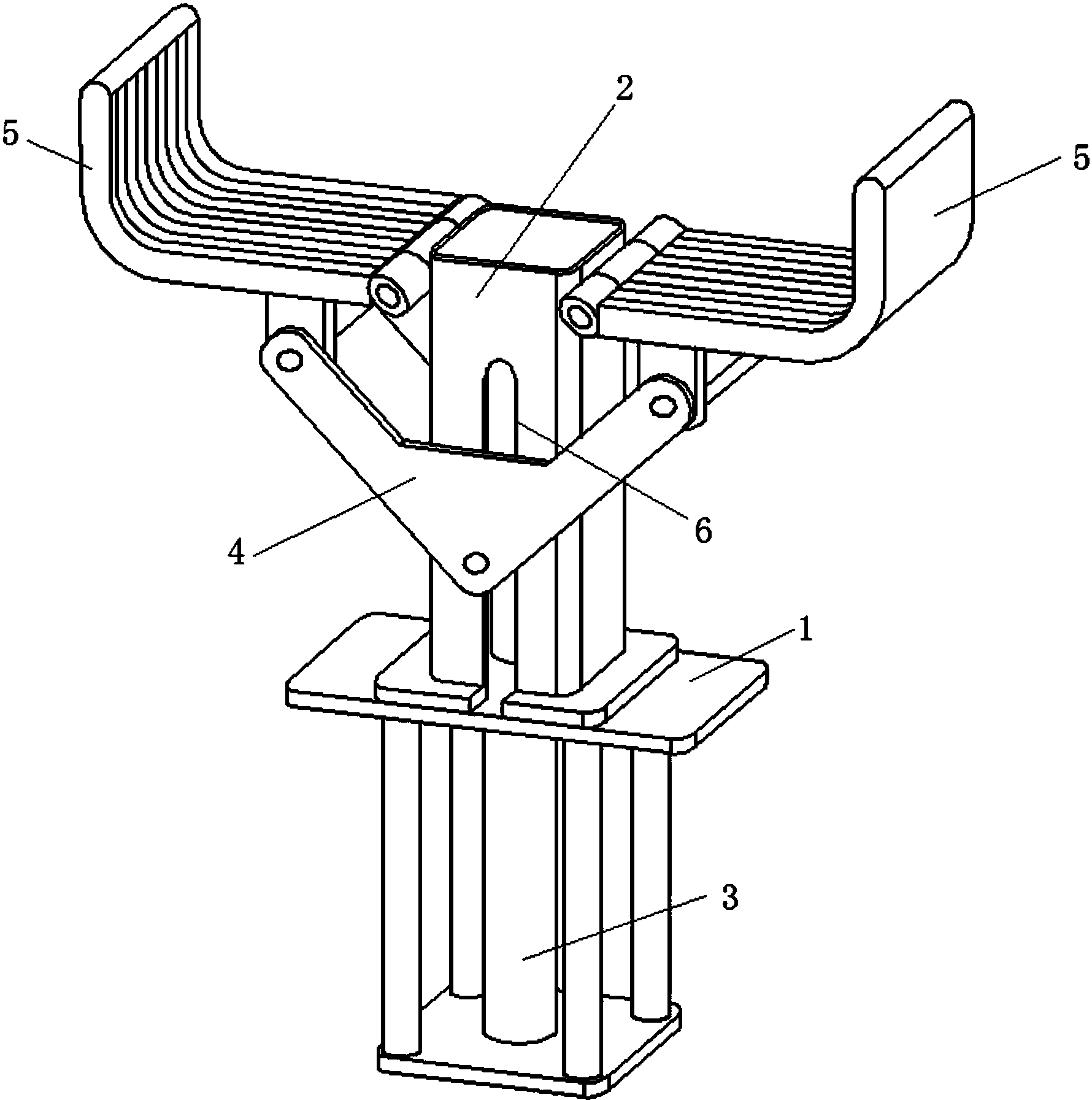
工件夹持机构 - 五金工具图纸 - 沐风网
图片尺寸607x633
solidworks设计平行夹持机构
图片尺寸1082x810
分享一万个机械动作原理设计图之40:楔形机械手夹持器-机械设计_哔哩
图片尺寸1728x1080
置中机构对中夹持机构物料居中定位夹持机械设计机构参考sw3d图纸
图片尺寸1010x1010
钢管夹持钳3d模型下载_三维模型_solidworks模型 - 制造云 | 产品模型
图片尺寸462x752
夹持器机械夹 - 五金工具图纸 - 沐风网
图片尺寸728x745
气动夹持器三维下载(244.35 kb,zip格式) 三维模型
图片尺寸1000x692
电子管夹持机构 - 五金工具图纸 - 沐风网
图片尺寸300x225
一种二极管管座加工用夹持装置专利_专利申请于2020-11-23_专利查询 -
图片尺寸1685x1560
连动式机械夹持机构 - 机床附件图纸 - 沐风网
图片尺寸820x929
机械臂夹持机构3d图纸 solidworks设计下载(2.14 mb,zip格式) 三维模
图片尺寸281x394
电动夹持机构 - 五金工具图纸 - 沐风网
图片尺寸612x589
求简易夹持结构的设计步骤,及其材料._百度知道
图片尺寸428x478
60个动图展示夹紧机构,机械手的机械原理!|齿轮|滑块|曲柄|弹簧|活塞|
图片尺寸400x410