姜永荣

姜永荣
图片尺寸268x312
扬州市政府秘书长尤在晶实地调研418主会场江苏旅游职业学院
图片尺寸693x462
张家口市宣化区建国街小学召开向张桂梅同志学习动员部署会
图片尺寸640x342
东辛紧密结合产业民生开展主题教育活动
图片尺寸600x283
今天的胜利也告慰九泉下的金忠青副省长和姜永荣副省长." 校对 盛媛媛
图片尺寸1080x810
晟佳集团捐赠建国街小学计算机教室
图片尺寸1080x720
07 符君山上阅读 236 姜永荣 阅读 236 投诉文章 热门评论
图片尺寸750x1335
本次会议由学校党支部副书记姜永荣同志主持.
图片尺寸640x354
本次会议由学校党支部副书记姜永荣同志主持.
图片尺寸640x361
06 阅读 108 姜永荣
图片尺寸750x1335
陈忠实遗体告别仪式举行 上千民众送别
图片尺寸900x643
副所长佟建成与颜江,姜永荣讨论文133-32井下步措施
图片尺寸765x396
包宗顺
图片尺寸268x357
姜永荣-企业工商信用信息,电话地址查询-阿里巴巴企业信用
图片尺寸800x800
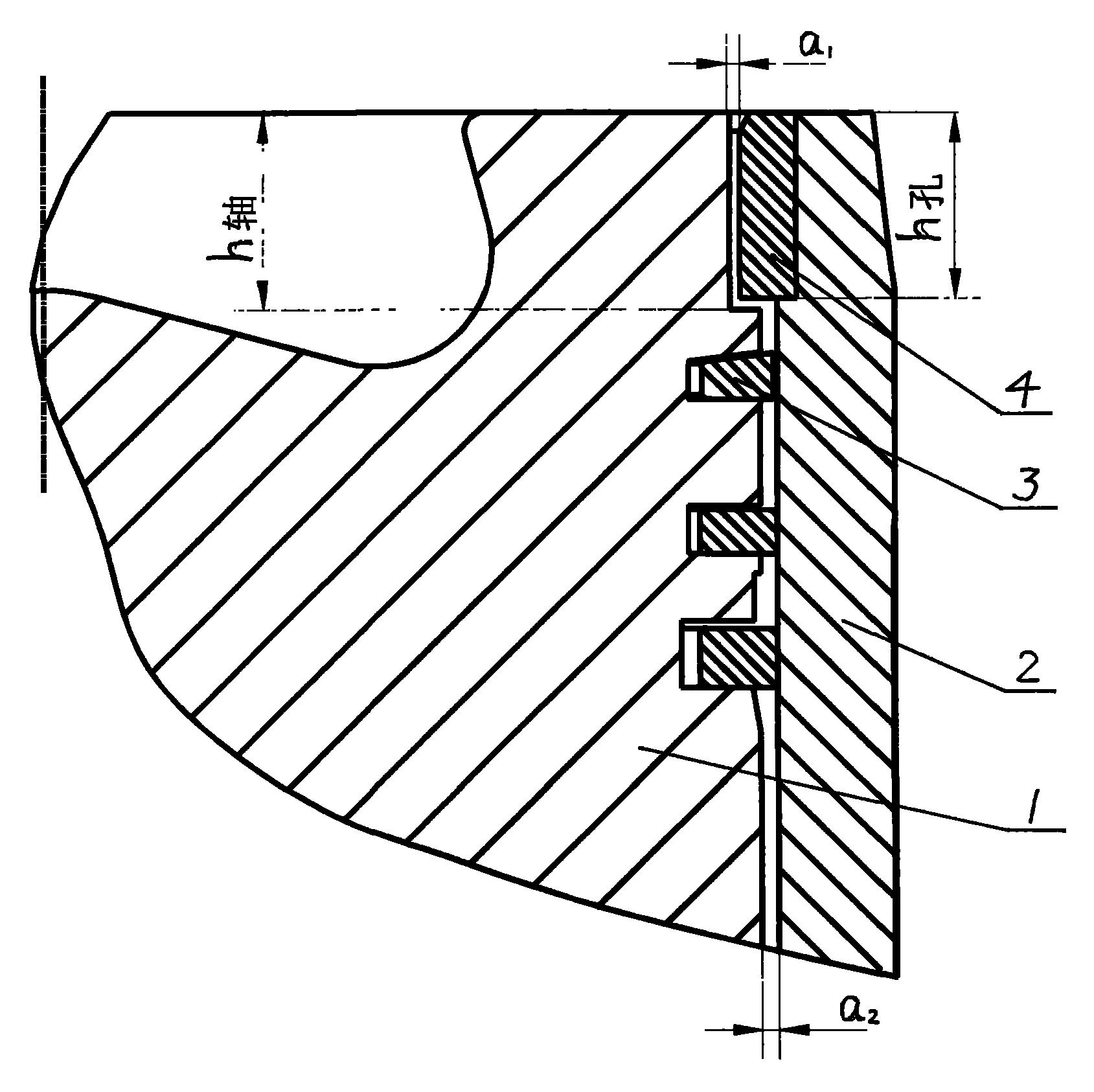
cn107600945a_悬挂式从动辊轮座在审
图片尺寸941x450
公布/公告号 cn101440753 公布/公告日期 2009-05-27 发明人 姜永荣
图片尺寸260x259