孔口封闭灌浆法示意图

土木工程地基处理技术 灌浆法施工示意图
图片尺寸1080x810
帷幕灌浆的孔口封闭装置
图片尺寸1990x1684
钻孔灌注桩后注浆施工技术详解,值得收藏!
图片尺寸760x366
帷幕灌浆的孔口封闭装置的制作方法
图片尺寸1000x846
断层宽 17m,对隧道洞口段施工极为不利,采用隧道地表深孔预注浆,加固
图片尺寸800x600
细说注浆防水堵漏施工
图片尺寸1024x671
逐段安装灌浆塞进行灌浆,直至孔底的灌浆方法
图片尺寸594x217
防水维修示意图04注浆施工注浆施工:注浆采用电动注浆机进行,并在注浆
图片尺寸516x422
底端注浆做法示意图
图片尺寸760x506
二次灌浆示意图
图片尺寸1648x1165
灌注桩后注浆是指钻孔灌注桩在成桩后,由预埋的注浆通道用高压注浆泵
图片尺寸560x360
钻孔灌注桩后压浆工法培训讲义
图片尺寸1120x626
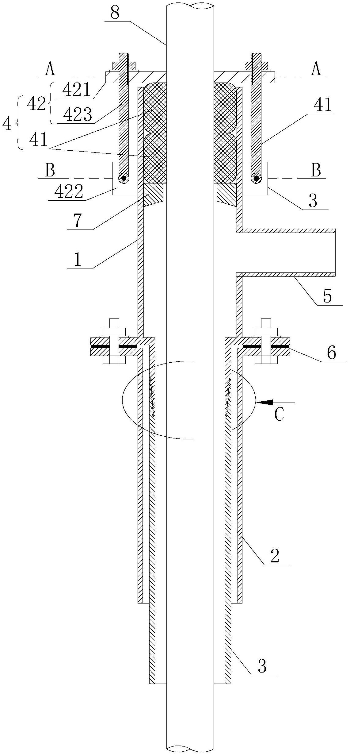
钻孔注浆用孔口封闭装置
图片尺寸1142x2464
处理抽水蓄能电站帷幕灌浆施工技术研究
图片尺寸516x268
一种孔口封闭器及钻灌装置的制作方法
图片尺寸716x1000
由三排孔组成的帷幕,应先进行边排孔的灌浆,然后进行中排孔的灌浆.
图片尺寸423x306
灌浆方式
图片尺寸493x312
带孔口止浆器的全方位高压喷射注浆施工方法-爱企查
图片尺寸2588x1027
一种排水钢管孔口封闭灌浆装置的制作方法
图片尺寸1000x753
旋喷灌浆示意图
图片尺寸570x472