安瓿高清印字机

安瓿瓶印字机
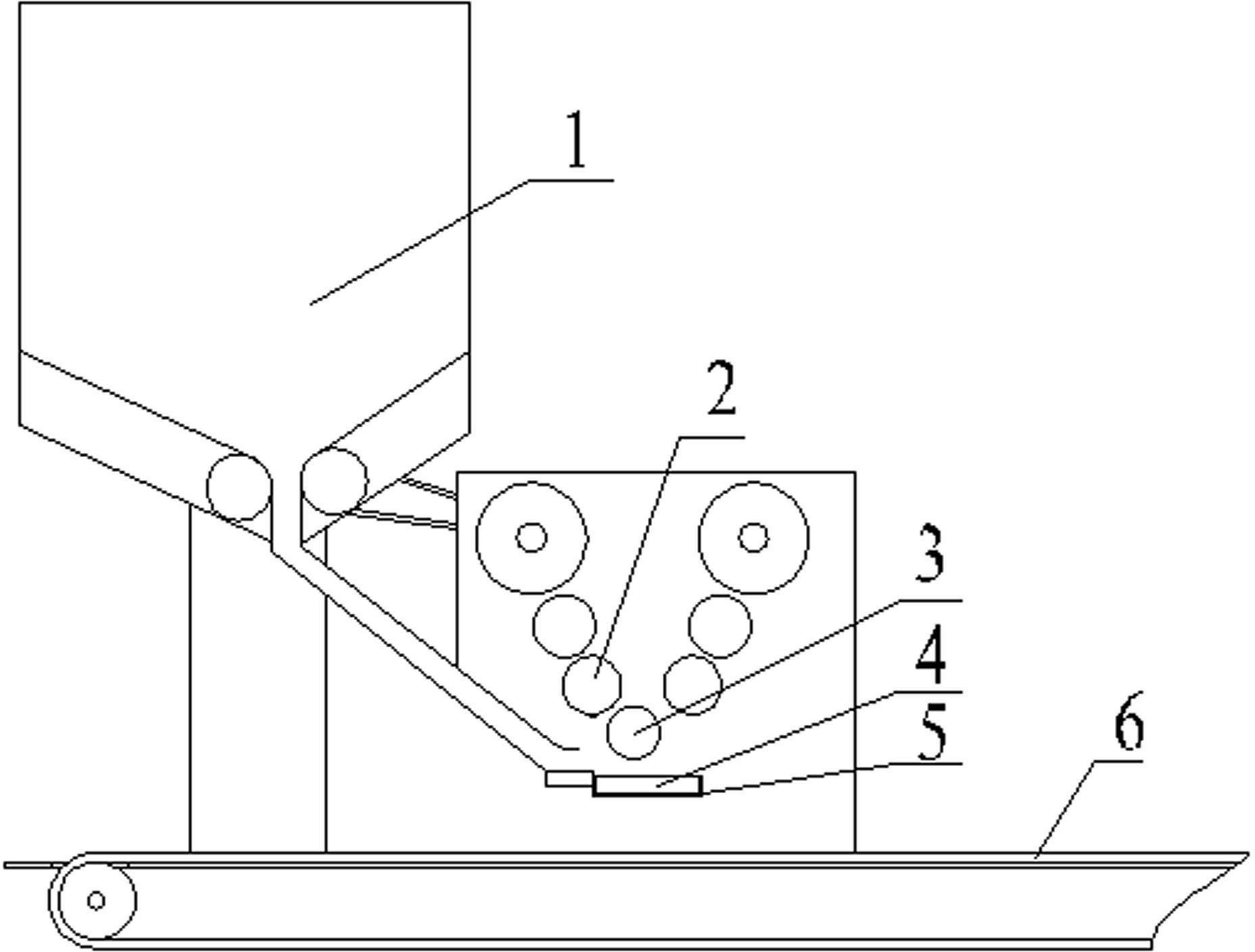
图片尺寸600x446
南阳地区处理闲置5/10毫升玻璃安瓶印字机
图片尺寸1440x1080
安瓿瓶西林瓶印字机
图片尺寸828x474
瓶盖印字机 矿泉水饮料瓶盖全自动多色印字机
图片尺寸1920x1140
钢罐印字机印刷清晰 1200可以印刷一圈钢瓶丝印机印刷清晰
图片尺寸400x400
供应安瓿瓶标签贴标机
图片尺寸1920x1440
圣刚蠕动泵安瓿拉丝灌封机安瓿瓶灌装熔封机安瓿瓶灌装机封口机
图片尺寸810x540
双木包装机械安瓿瓶印字机商标油印西林瓶印字机2ml 5ml 10ml20ml
图片尺寸800x800
dzh-190装盒机食品行业,雪糕,饼干,蛋黄派,面包,巧克力等多功能装盒机
图片尺寸2483x1293
钢瓶印刷设备液化气瓶印字机氧气瓶印刷设备
图片尺寸960x544
present decorative china manufacturer custom print c
图片尺寸1000x750
aplq30系列全自动安瓿油墨印字-泡罩包装生产线—制药机械技术网
图片尺寸1016x818
xt-100a high accuracy disc automatic fixed point
图片尺寸1000x694
full automatic note strapping machine bm-310
图片尺寸421x748
安瓿印字机,装盒机
图片尺寸1280x856
wide format scanner used
图片尺寸300x300
安瓿瓶拉丝灌封机 安瓿瓶灌封机 安瓿瓶封口机图片
图片尺寸750x750
博士_准备_实验_药品_拿_安瓿瓶_医疗_试验_高清图片_全景视觉
图片尺寸794x596
印字机-安瓿瓶,西林瓶,口服液瓶灯检机,贴标机,印字机,药品洗瓶机
图片尺寸810x630
安瓿印字机-爱企查
图片尺寸1856x1408