宫腔水囊

有姐妹能分享一下催产水囊图片长什么样吗
图片尺寸1080x810
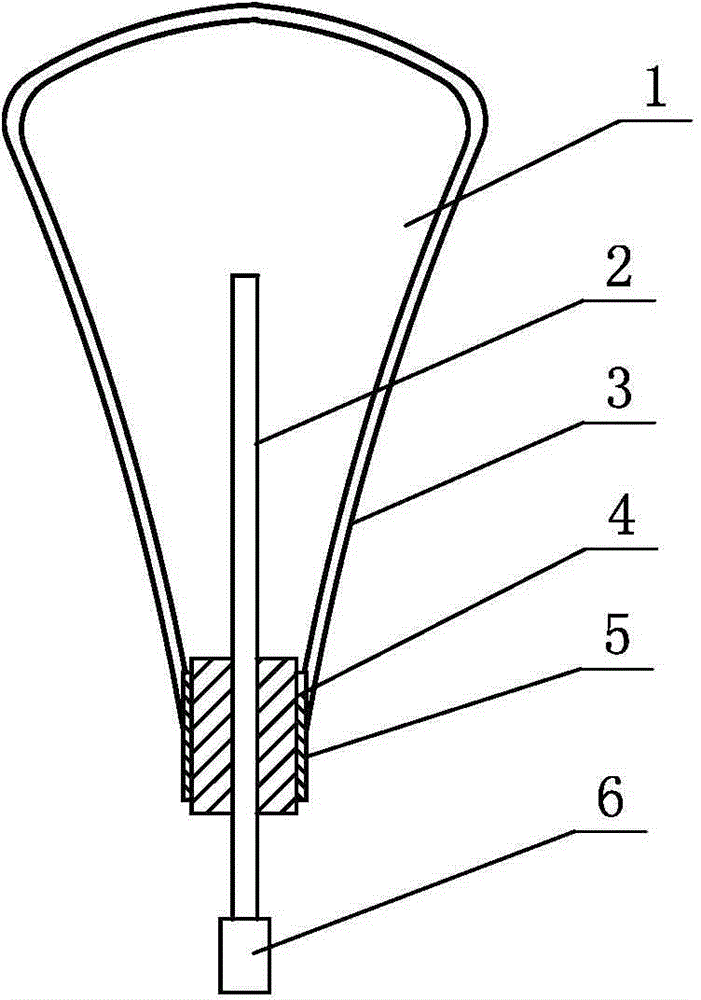
本发明涉及产后止血器具领域,尤其涉及一种产后宫腔止
图片尺寸422x343
水囊催产后置水囊图慎点
图片尺寸1080x1439
一种产后宫腔止血水囊的制作方法
图片尺寸422x343
病例分享 | 李映桃教授产后出血团队抢救一例讨论
图片尺寸1080x499
p data-id="gncojn3v34">水囊引产是将水囊放置在于宫壁和 a target=
图片尺寸998x666
水囊引产小剂量催产素点滴引产注:引产的安全性,目前
图片尺寸640x702
该如何选购水囊?
图片尺寸900x900
润泉环保——专业的水囊提供商|山东水囊生产厂家
图片尺寸1921x1080
子宫放球囊很多种一次性三角球囊子宫支架告诉你临床作用大不同
图片尺寸600x416
一种产妇宫腔止血水囊的制作方法
图片尺寸723x1000
北京优质水囊需要多少钱 抱诚守真「潍坊容泽液袋
图片尺寸500x416
初产妇顺产催产塞的水囊是什么东西?
图片尺寸500x400
本实用新型涉及一种产后子宫止血水囊,属于医用临床器
图片尺寸701x1000
潍坊地区优秀的水囊鱼箱 橡胶囊厂家
图片尺寸320x320
子宫颈扩张球囊导管顺产扩张水囊 子宫颈扩张球囊导管 18f 带导丝
图片尺寸800x800
中型水囊
图片尺寸941x710
水囊
图片尺寸1920x1440
13一早和医生约定好,今天准备放水囊催产,所以早上8点多,我和老公两个
图片尺寸1080x648
山东正茂生态环保有限公司 水袋 水囊 耐高温水囊
图片尺寸750x750