导向轮安装示意图

为了让车主打方向盘时能省点劲儿供应商们有多努力
图片尺寸2048x1448
电梯导向轮制作尺寸
图片尺寸893x502
车轮定位
图片尺寸541x360
麦克纳姆轮万向轮驱动原理及安装方法
图片尺寸1046x611
方向盘和轮胎的转向原理方向盘和轮胎的转向原理介绍
图片尺寸430x466
车轮车轮按功用分为导向轮和驱动轮.
图片尺寸789x461
汽车转向系统的结构和工作原理简介
图片尺寸584x189
科技是把双刃剑浅谈das线控转向技术
图片尺寸650x650
助力转向
图片尺寸520x406
系统的唯一动力源,也被称作"无助力",只靠齿轮一类的减速机构将力放大
图片尺寸1024x1024
汽车转向系示意图
图片尺寸900x590
汽车转向系统1ppt
图片尺寸1080x810
卡车转向后车轮不能自动回正的原因是什么?该如何处理呢?
图片尺寸1200x800
汽车方向盘是如何工作的呢?
图片尺寸640x426
汽车转向系统保养
图片尺寸455x385
准确地改变汽车的行驶方向;在直线行驶时,当转向轮受到某些外力的干扰
图片尺寸754x485
关于汽车转向助力油的那些事|转向盘|方向盘|车轮|液压泵_网易订阅
图片尺寸501x355
南京工业大学 轮式转向系ppt
图片尺寸1080x810
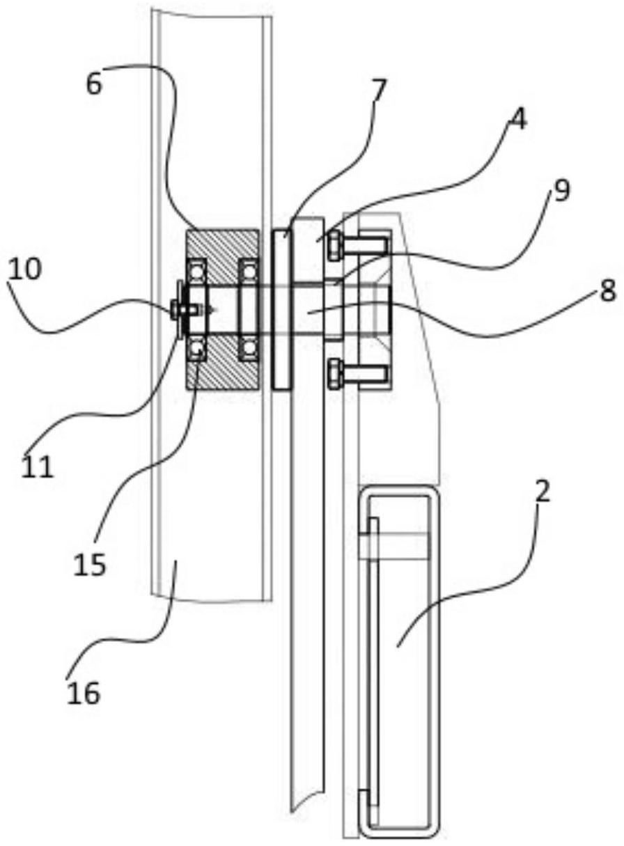
一种简易停车设备导向轮包括框架,对称安装在所述框架两侧的一组支架
图片尺寸896x1215
摆线全液压转向器 bzz1-e50c bzz1-e80c bzz1-e80b bzz5-e80c
图片尺寸1769x1675