导管分子手绘图

导管的制作方法
图片尺寸765x1000
参考一下这个图,植物导管的类型: 追问 嗯.
图片尺寸397x336
例3不同类型的导管分子次生壁加厚的程度不同,下列哪一种排列正确地
图片尺寸663x424
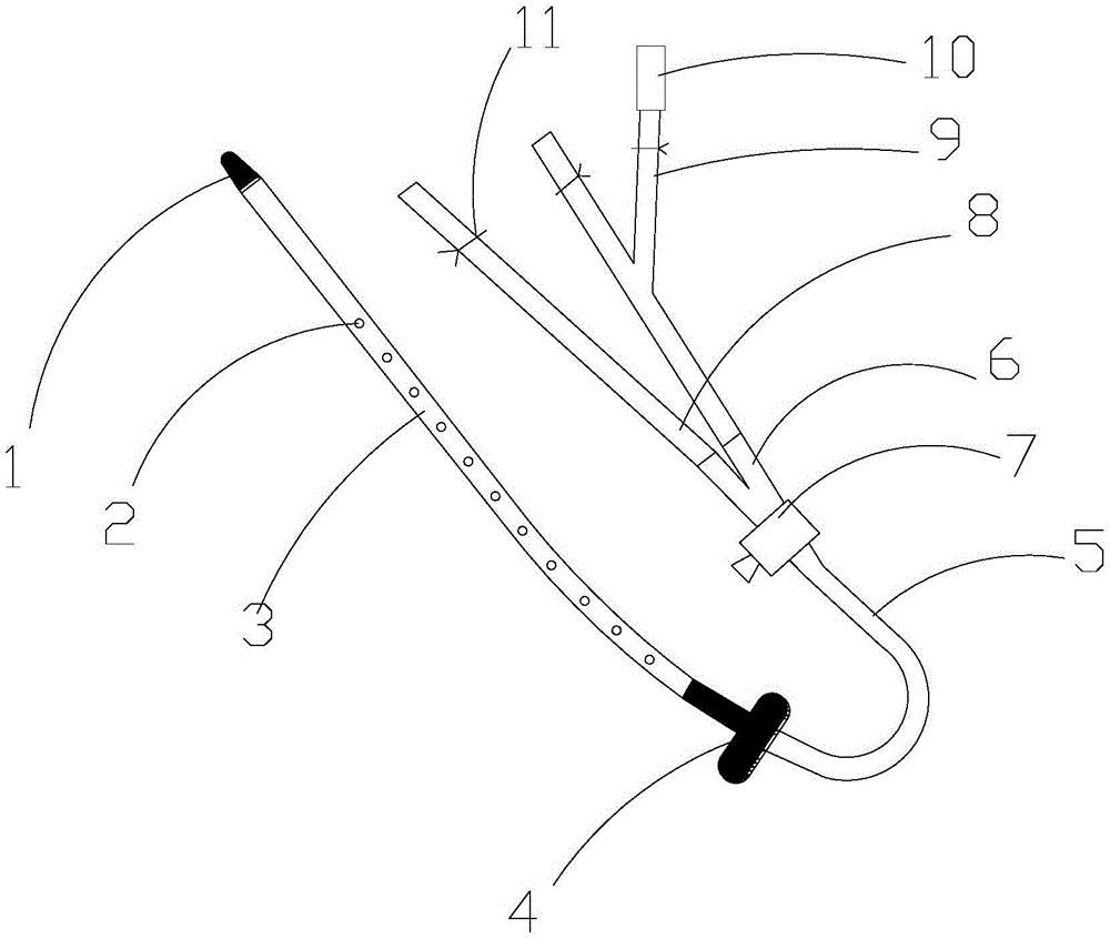
cn209019718u_一种一次性使用中心静脉导管
图片尺寸1000x501
导管分子在发育初期为生活细胞,以后,细胞液泡化,内部物质逐渐消失,端
图片尺寸285x458
1.植物的组织ppt
图片尺寸1080x810
195白及
图片尺寸724x980
导管分子和管胞
图片尺寸219x300
203白蔹
图片尺寸719x1005
化学分子导管插画
图片尺寸304x471
一种血液透析导管的制作方法
图片尺寸376x1350
cn209004832u_透析导管有效
图片尺寸1000x846
一种一次性使用中心静脉导管
图片尺寸2014x1011
导管细胞
图片尺寸220x155
牛年细说牛毛纹
图片尺寸628x730
芹菜叶柄 纵切面 求图
图片尺寸235x262
cn113069668a_一种螺旋可收缩管型单腔气管导管在审
图片尺寸1451x982
输导组织——导管 导管的发生 复穿孔板 单穿孔板 导管分子的穿孔板
图片尺寸1080x810
导尿管固定装置用带气囊导尿管作胸腔闭式引流导管简笔画 手绘 线稿
图片尺寸1000x463
导管分子,管胞,木纤维在分化成熟时为长轴的死细胞(见导管,管胞,纤维)
图片尺寸857x1110