封头支腿展开图

封头生产厂家
图片尺寸1920x1080
jb473795t椭圆形封头
图片尺寸1200x1695
封头正中央的圆形垫板如何确定下料尺寸
图片尺寸819x556
容器封头侧方补强圈的放样计算
图片尺寸1024x768
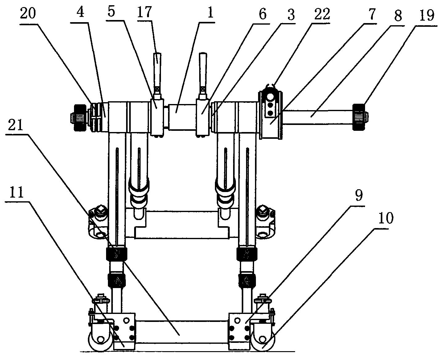
连接管,连接管两端分别套装前外管和后外管,前外管外铰接前支腿,后外
图片尺寸1440x1173
板件展开图方法_球形封头的展开方法
图片尺寸436x406
封头类型
图片尺寸840x1136
掌握钣金核心技术,"授之予渔"的传授,绝对实战!
图片尺寸640x640
球型管帽封头
图片尺寸650x671
b型支腿
图片尺寸505x713
所述冷箱壳体上部焊接有壳体上部吊耳,下部由冷箱支腿
图片尺寸416x444
现有的封头组件是由数个单件焊接的总成件,如图1-2所示,包括封头,支腿
图片尺寸1000x539
单元十二 内压薄壁容器封头的强度设计ppt
图片尺寸1080x810
椭圆封头的展开画法
图片尺寸384x562
锥形封头制造工艺设计通用模板.pdf
图片尺寸800x1131
椭圆封头的展开图画发及计算面积
图片尺寸357x458
如何将球缺封头展开?-电子发烧友网
图片尺寸818x447
展开全部 封头下料图用这个方法可以解决 15 7 已赞过 已踩过 评
图片尺寸296x217
标准封头表面积计算公式
图片尺寸377x303
金属储罐拱顶瓜瓣板计算机优化排版下料
图片尺寸1944x2750