小型船用尾轴安装图

船用尾轴尾管装置及安装方法
图片尺寸1936x883
船舶螺旋桨尾轴被渔网缠住如何应急
图片尺寸1080x702
小齿轮的尺寸,减速电机的功率,大齿轮与小齿轮的安装参数,根据艉轴上
图片尺寸1571x996
船舶传动轴为什么那么长?相应会产生什么影响呢?
图片尺寸954x504
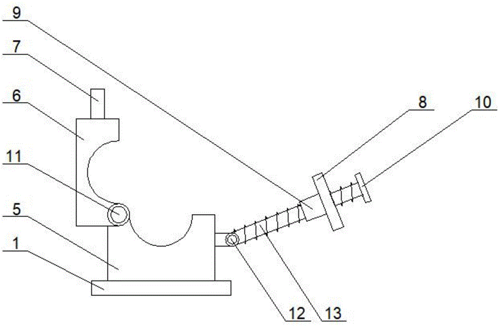
cn212980512u_一种便于安装的船用尾轴尾管有效
图片尺寸1000x652
cn203268311u_船舶艉轴结构失效
图片尺寸1000x575
船舶轴系整体艉管的制造及轴承压装工艺研究
图片尺寸1411x2078
螺旋桨艉轴
图片尺寸1280x960
thordon bearings再获12艘美国新造拖船供应合同_轴承_公司_设备
图片尺寸450x255
船用渔船传动轴,船舶尾轴,船舶密封,尾轴油封,尾轴水封,舵叶 - 抖音
图片尺寸1920x1440
船舶尾轴接地装置很多人容易忽视的一个点
图片尺寸640x480
请教艉轴尾管从拉线开始到安装结束这一工艺过程
图片尺寸1000x718
船用产品(链轮,齿轮,尾轴,舵柄),船用配套铸件
图片尺寸720x540
船舶艉轴孔镗孔作业
图片尺寸1200x900
请教艉轴尾管从拉线开始到安装结束这一工艺过程
图片尺寸1000x704
文冲修造完成"康斯特纳"vlcc轮尾轴修复工程
图片尺寸1280x1221
船舶尾轴接地为什么要装锌块及船舶iccp作用和原理
图片尺寸891x609
com·南通船舶交易网 _二手船舶信息船用尾轴,尾轴,各类轴定制货船
图片尺寸545x1200
艉轴 船舶主轴 复合尾轴 螺旋桨艉轴 加工定制-船用
图片尺寸1080x1920
船舶艉轴孔镗孔作业
图片尺寸1200x900