少先吊

井研卷扬机销售
图片尺寸450x800
能力展示吊单杠
图片尺寸1000x750
爱吊单杠的小男孩
图片尺寸1024x1365
吊单杠能长高吗
图片尺寸554x373
2019年10月10日,多多两岁两个月
图片尺寸2000x2666
室外吊运机|楼顶吊运机|建筑小吊机|建筑吊运机
图片尺寸600x707
朵朵一班——《单杠娃娃》
图片尺寸1080x1440
邹铭睿10岁成长礼
图片尺寸2000x2666
小吊砖机生产厂家
图片尺寸500x375
体操磨炼意志
图片尺寸682x1023
能力展示吊单杠
图片尺寸1000x750
小西瓜的欢乐时光之吊单杠
图片尺寸4032x3024
有意思!进阶版"寒假作业"让孩子爱上学习
图片尺寸1920x1440
小西瓜的欢乐时光之吊单杠
图片尺寸4032x3024
少先吊!
图片尺寸559x600
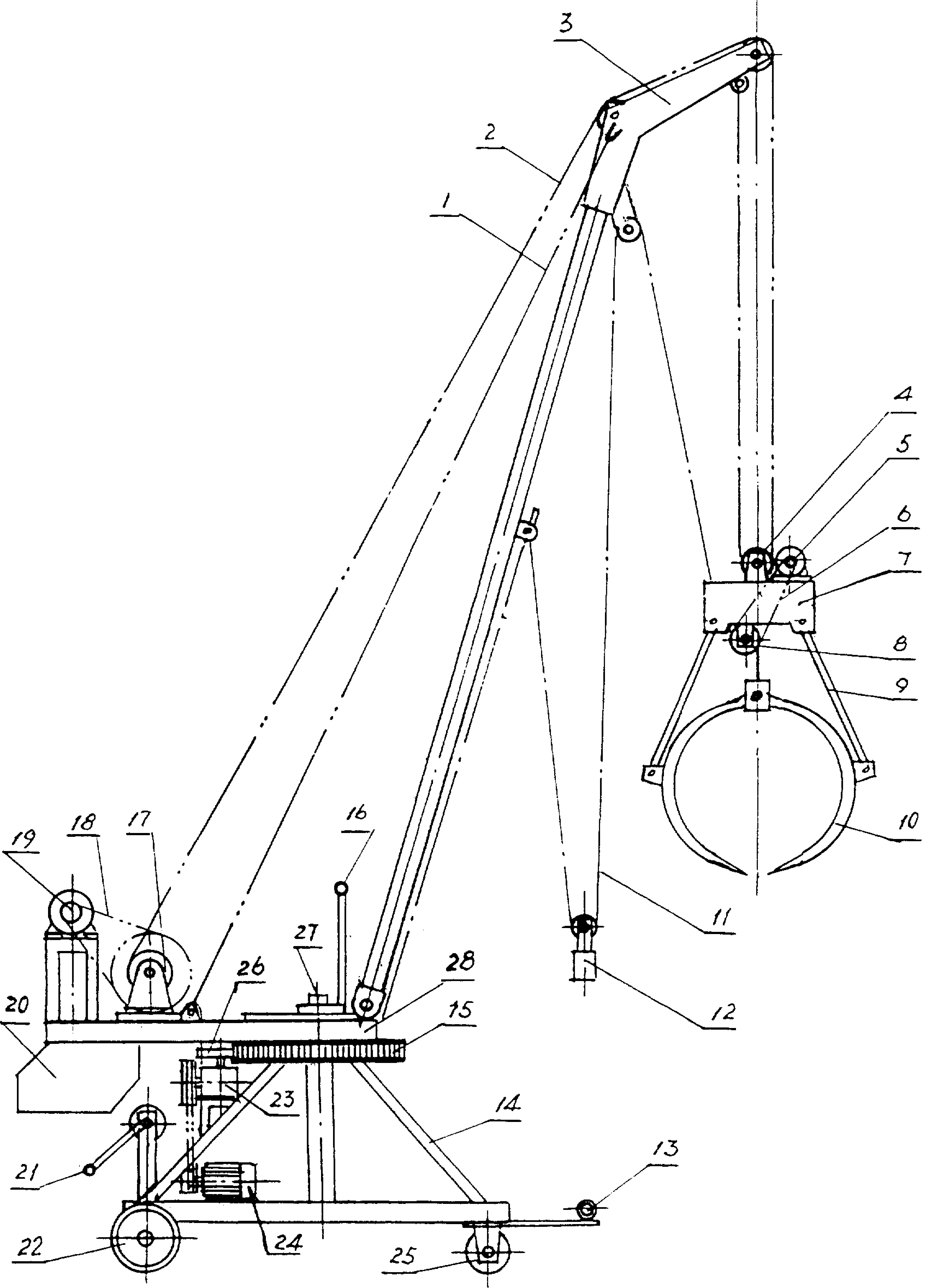
多用吊抓少先吊
图片尺寸5088x7074
春天的时候我们大家一起运动起来,这样大小朋友都可以
图片尺寸1198x1598
用照片讲故事,每一幅作品背后都有各自的力量,看完直接收藏
图片尺寸640x427
小兔子和龙腾湾
图片尺寸2667x2000
江苏各界人士凭吊革命先烈
图片尺寸900x593