尖嘴钳简笔画

尖嘴钳-爱企查
图片尺寸343x800
钳轮廓图标
图片尺寸800x800
钳子是把物体牢牢握住的手工工具插画-正版商用图片13rp9y-摄图新视界
图片尺寸700x737
尖嘴钳简笔画
图片尺寸452x553
手绘尖嘴钳子插画
图片尺寸650x651
钳子工具孤立图标
图片尺寸790x1200
钳子简笔画图片 钳子怎么画
图片尺寸650x488
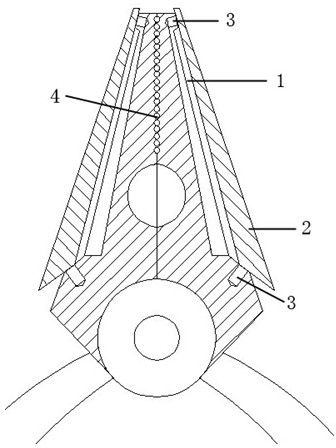
一种多功能尖嘴钳
图片尺寸1357x1921
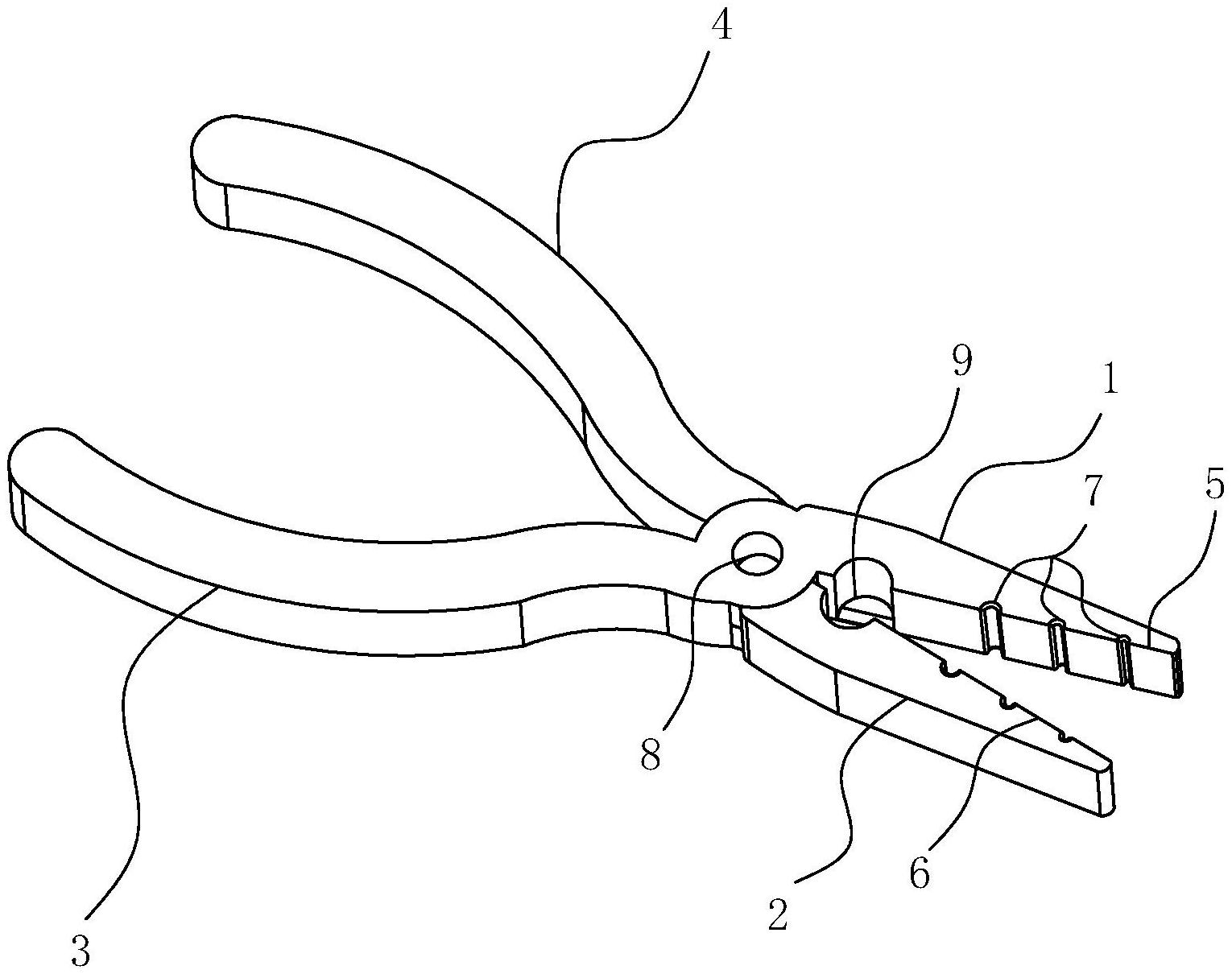
一种尖嘴钳-爱企查
图片尺寸1530x1210
尖头钳切割线形图标线
图片尺寸1101x1100
一种尖嘴钳-爱企查
图片尺寸336x448
尖嘴钳图标
图片尺寸512x512
尖嘴钳图标
图片尺寸650x592
钳轮廓图标
图片尺寸800x800
钳子图标轮廓样式
图片尺寸621x1200
尖嘴钳简笔画
图片尺寸201x379
钳子
图片尺寸256x256
常用电工工具及操作工艺212尖嘴钳
图片尺寸1134x661
钳图标
图片尺寸512x512
如何画老虎钳的简笔画
图片尺寸500x302