左振国

巡视组组长左振国传达了省委书记李锦斌在省委"五人小组"会议上的讲话
图片尺寸720x522
左振国政治人物
图片尺寸550x367
学校新闻
图片尺寸576x400
安徽广播电视大学
图片尺寸600x399
省纪委常委左振国作了讲话.
图片尺寸500x471
左振国-air-20160308 第4场
图片尺寸640x1164
省委第五巡视组组长左振国代表巡视组反馈巡视情况,芜湖市委副书记
图片尺寸600x400
省委第五巡视组向淮南市大通区委反馈巡视情况
图片尺寸640x427
左振国强调,开展巡视"回头看",是党的十八大以来巡视组织制度和方式
图片尺寸500x333
巡视组组长左振国传达了省委书记李锦斌在省委"五人小组"会议上的讲话
图片尺寸800x514
泾县先锋网 时政要闻 领导活动 浏览正文左振国在讲话中指出,巡视是
图片尺寸500x269
学校新闻
图片尺寸600x400
cn2748308y_冰,水两用船失效
图片尺寸1417x967
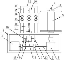
公布/公告号 cn203902937u 公布/公告日期 2014-10-29 发明人 左振国
图片尺寸260x242
男孩的名字姓左 男孩的名字姓左有哪些
图片尺寸500x456
cn204111800u_一种铝镁铁脱氧剂失效
图片尺寸909x729
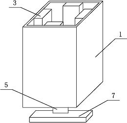
公布/公告号 cn203900406u 公布/公告日期 2014-10-29 发明人 左振国
图片尺寸260x252