巧妙的可拆卸结构

巧妙的可拆卸结构
图片尺寸550x371
榫卯:中国 "天人合一"的千年技艺灵魂
图片尺寸800x532
巧妙的可拆卸结构
图片尺寸550x365
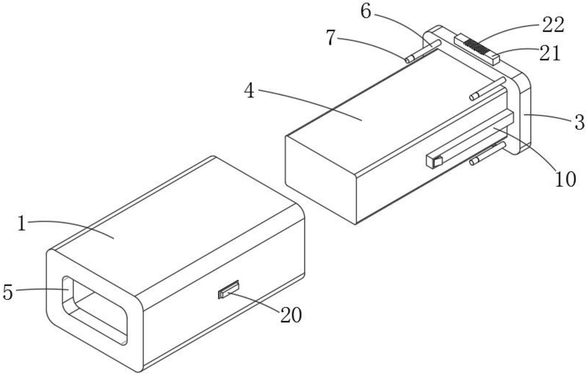
及滑轮滑轨机构,包括与滑轨滑动配合的滑轮主体,滑轮主体为长型结构
图片尺寸1676x1431
一种高效消毒杀菌除臭箱包可拆卸结构
图片尺寸1828x1245
自制木材切削稳定架,木质结构可拆卸,结构巧妙!
图片尺寸799x444
【拆你解】精致巧妙——雷蛇奥罗波若蛇游戏鼠标拆解
图片尺寸800x533
这种钣金结构怎么拆分好呢,求指导
图片尺寸1360x871
四工位旋转缓存机构设计,旋转料盘可快速拆卸,设计很巧妙
图片尺寸1266x791
盒顶透明,便于查视盒内物品,器型巧妙,无障碍开启的盒盖方便取用.
图片尺寸640x427
"飞檐斗拱,雕梁画栋"的骨,榫卯结构-极为精巧的发明!
图片尺寸640x480
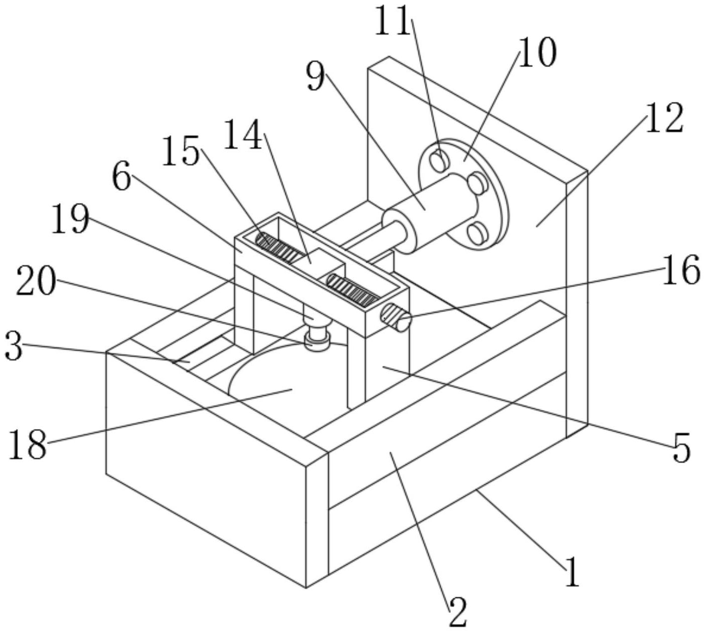
一种雕刻设备用可拆卸的五轴结构
图片尺寸1403x1258
结构巧妙的衣帽架,可拆卸
图片尺寸332x600
巧妙的可拆卸结构
图片尺寸398x529
cn213584042u_一种可无损拆卸的锂离子电池结构有效
图片尺寸1877x1201
一种可拆卸式子母卡扣结构
图片尺寸918x1000
快拆结构的制作方法
图片尺寸969x1000
将扇面与底座组合在一起之后,可拆卸为两段的支架巧妙地藏于底座的
图片尺寸600x330
一种新型可拆式合页
图片尺寸1901x1208
楼板只配1套模板3天拆模一个巧妙的方法等你来拿
图片尺寸558x419