帽梁图片

路科帽梁
图片尺寸1170x878
四大才子帽梁山伯与祝英台小生巾戏剧越剧用品才子帽古装影视
图片尺寸2808x2808
帽梁
图片尺寸268x201
六线桥4#帽梁安装钢筋
图片尺寸1440x1080
帽梁支架平台及钢筋.jpg
图片尺寸3648x2432
墩身帽梁
图片尺寸760x497
宿连航道二期连云港段a型护岸帽梁首件浇筑完成_施工人员_混凝土_结构
图片尺寸1080x810
桥墩帽梁施工(赵锋摄)
图片尺寸800x573
桥台帽梁模板钢筋
图片尺寸750x1000
耳墙:指埋置式桥台或桩柱式桥台,与台帽梁(盖梁)连结成一体的小型挡
图片尺寸608x439
又称帽梁.
图片尺寸799x1422
四大才子帽梁山伯与祝英台小生巾戏剧越剧用品才子帽古装影视
图片尺寸2634x2634
三塔斜拉桥预制承台,帽梁大体积混凝土配合比设计与温控总结
图片尺寸1944x2592
又称帽梁.
图片尺寸750x669
盖梁又称帽梁.
图片尺寸600x442
一种高效便捷施工的帽梁及其施工方法-爱企查
图片尺寸504x472
桥墩帽梁加固后
图片尺寸1213x746![[分享]墩柱帽梁施工工艺资料下载](https://imgs.wantubizhi.com/img/735A5D1F980B52A636CC46F12F2D1A73FF26BA02DED73F407472516249F3AA518CDA114369FA3E9E6DD37037BC6F9234080FDB1964F20D08BE047B8B3509D5A0F37158F31D6A3600281B0709072F931637D8146AF3B3045E715B38BB2E131CCA)
[分享]墩柱帽梁施工工艺资料下载
图片尺寸560x420
四大才子帽梁山伯与祝英台小生巾戏剧越剧用品才子帽古装影视
图片尺寸2655x2655
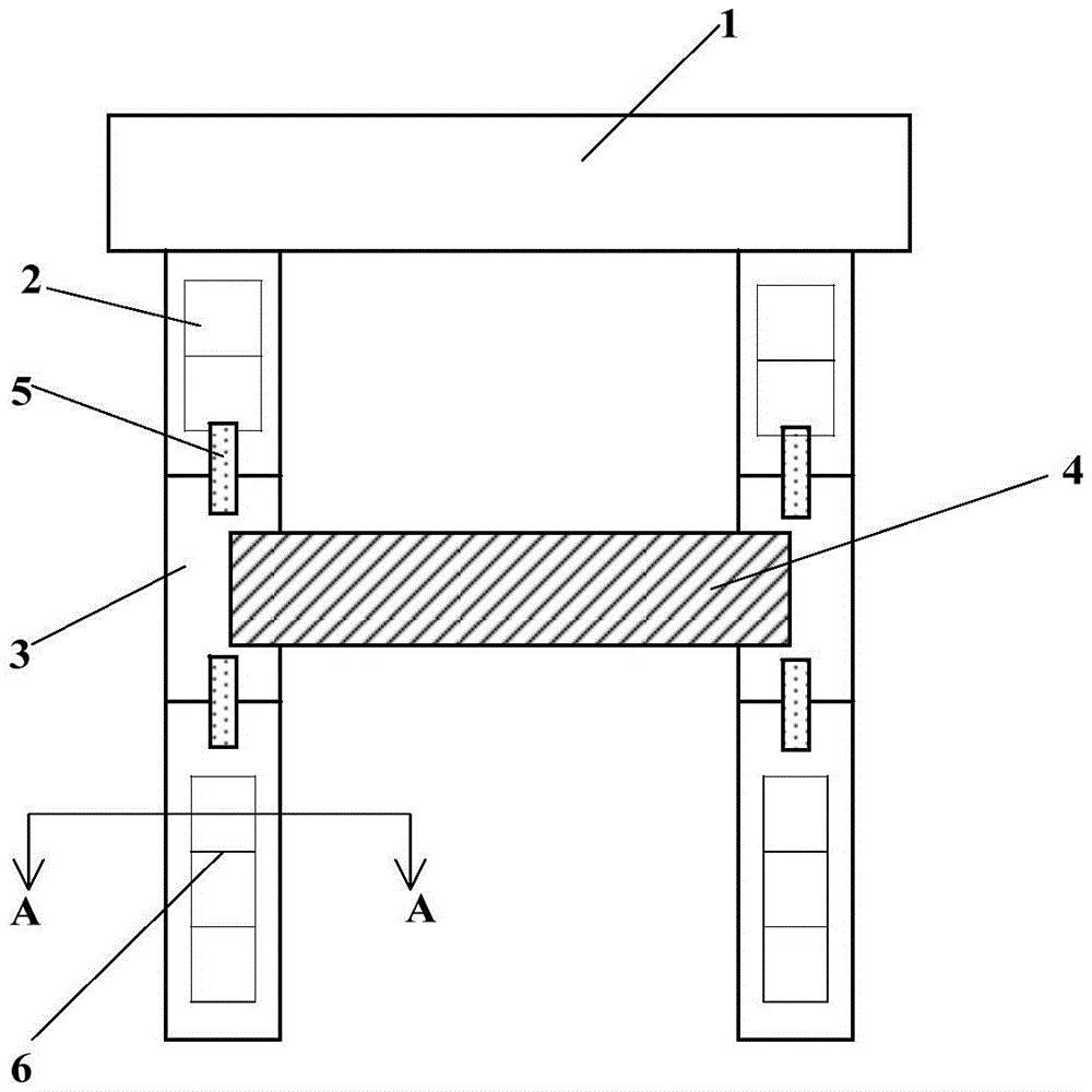
cn209227358u_一种砂混凝土门式墩帽梁有效
图片尺寸1000x1000