平面热管

超扁平热管散热器
图片尺寸820x547
蚊香电型电热管平面加温实验加热热管炒锅干圈数码望远镜
图片尺寸800x800
详解热管工作原理及其分类特性
图片尺寸900x562
厨房316l单头电热管复制
图片尺寸1000x922
超薄热管高品质来图加工厂家**价格低导热性能好
图片尺寸1920x1440
平面热管与液冷作用下锂离子电池热管理系统散热特性
图片尺寸528x307
散热器形式平面示意图: 采用bonded fin 8热管设计
图片尺寸450x232
连体针刺式平面热管散热装置-爱企查
图片尺寸260x260
cn101581548a_一种超薄热管有效
图片尺寸2048x1811
真空相变热管
图片尺寸1142x510
详解热管工作原理及其分类特性(五)
图片尺寸900x1085
燃油(气)纵置辐射喷流热管热风炉-爱企查
图片尺寸260x260
热管检测
图片尺寸1024x576
cn101324409a_一种用于水平放置的热管失效
图片尺寸2116x713
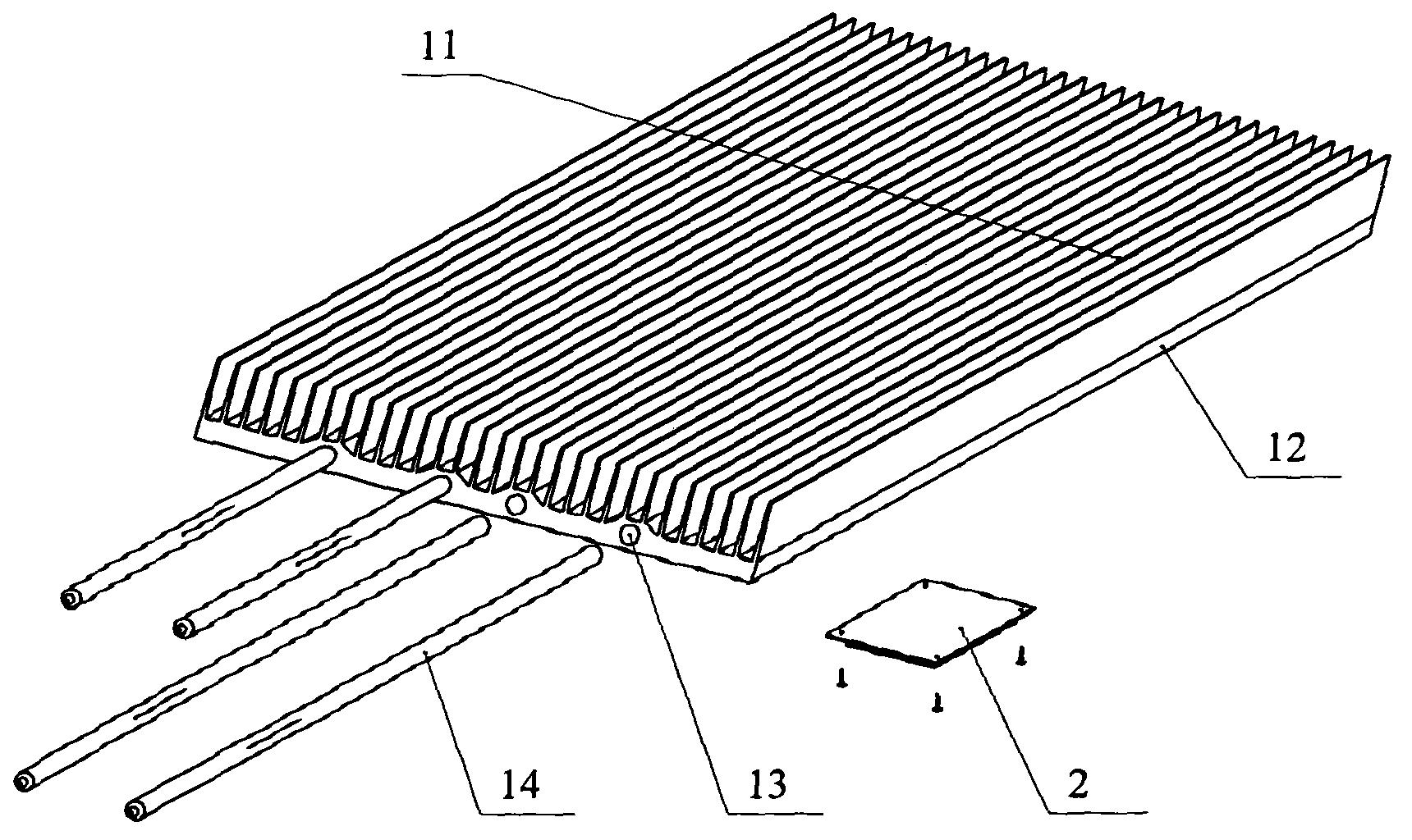
拉伸式热管散热器及其led灯具-爱企查
图片尺寸1720x1024
平面热管与液冷作用下锂离子电池热管理系统散热特性
图片尺寸528x1041
卧式热管换热器-爱企查
图片尺寸260x260
供应非标热管散热器模组 led散热
图片尺寸450x550
平面型热管制造技术
图片尺寸1000x634
定制热板,均热板,平面热管.
图片尺寸604x452