开关门连杆机构

三维运动仿真:一种4连杆驱动的开关门机构
图片尺寸1728x1080
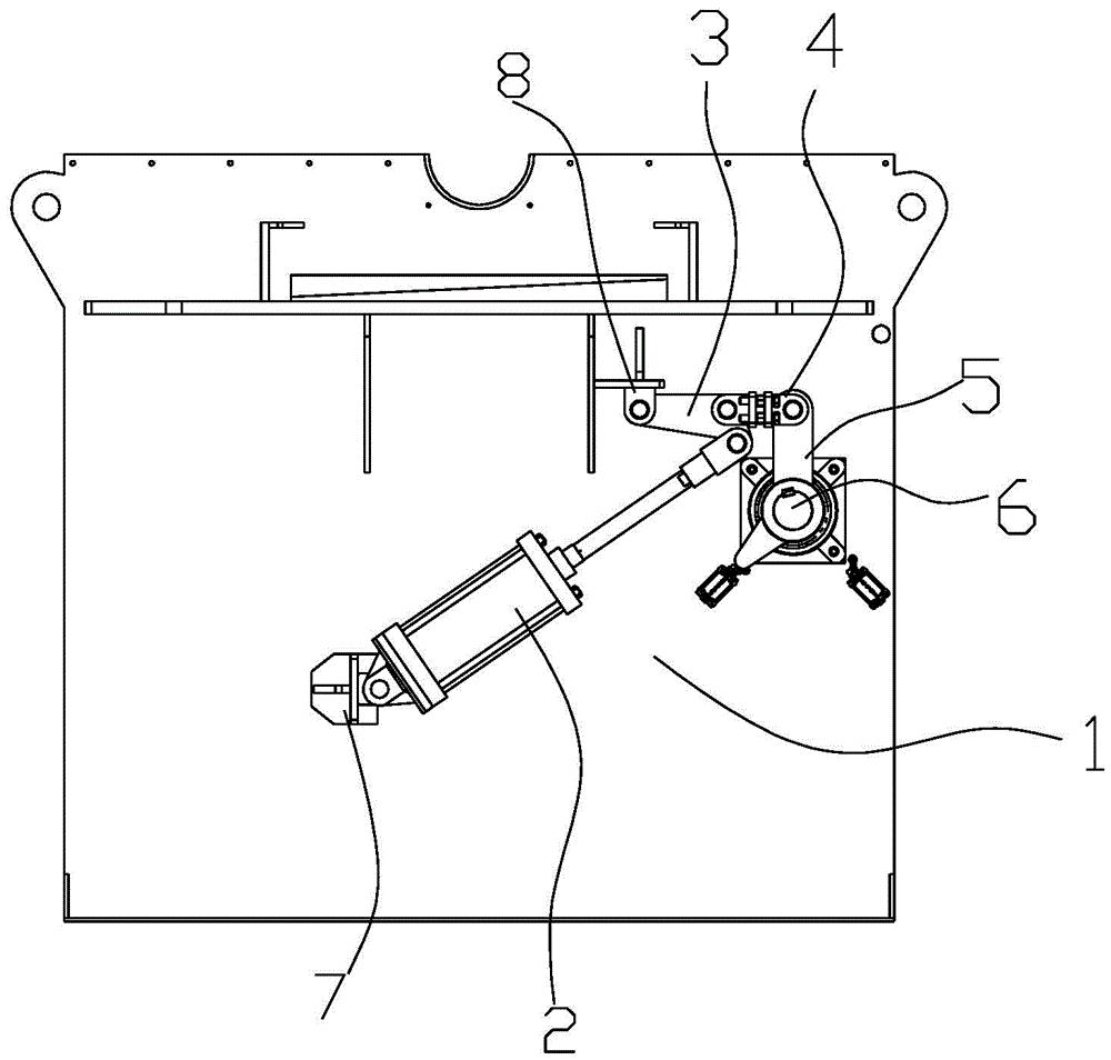
一种开关柜的活门机构-爱企查
图片尺寸1019x2190
混合机新型开门连杆机构
图片尺寸1000x954
连杆开关门模型
图片尺寸300x225
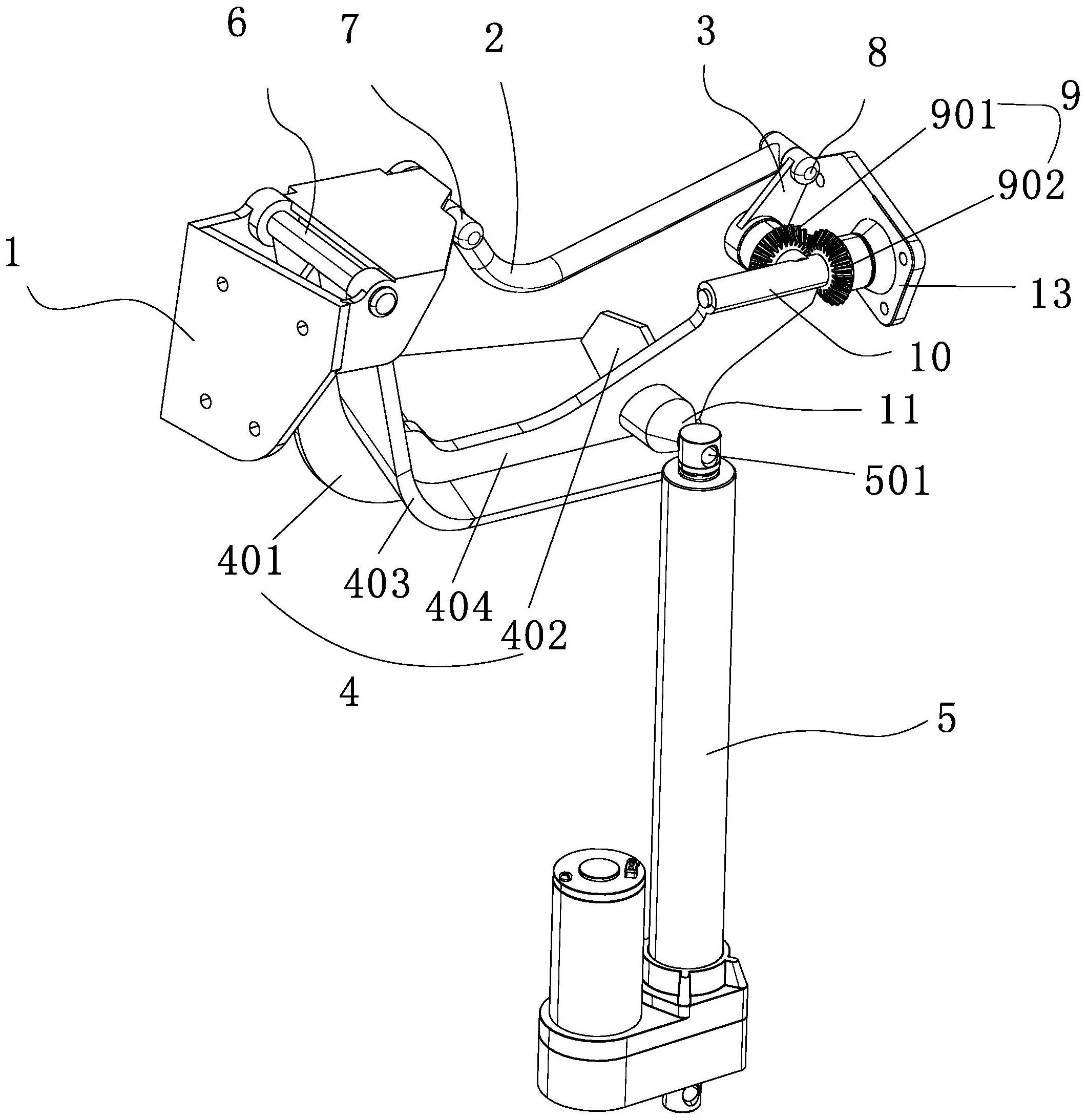
一种开关柜活门连杆机构的制作方法
图片尺寸708x1000
连杆机构 - 优质图片专区
图片尺寸643x783
实用连杆机构
图片尺寸942x613
63型空气开关断路器cz2-b1-138配电柜门外连杆手动旋转操作机构
图片尺寸800x800
连杆机构 - 优质图片专区
图片尺寸833x406
一种多连杆蝴蝶式车门开启机构
图片尺寸2122x2187
这个连杆机构原理简单但很实用常用在一些开合门或翻转机构上
图片尺寸640x326
一种主动控制断路器开关的连杆机构的制作方法
图片尺寸950x886
气缸活塞杆伸出或缩回,就可实现开关车门,这个动作是通过四连杆机构来
图片尺寸1503x533
该折叠机构包括一连杆组件,所述连杆组件包括第一连杆,第二连杆以及第
图片尺寸1437x1927
连杆伸出机构
图片尺寸685x490
介绍平面连杆机构原理及其应用
图片尺寸1080x810
自动开关门机构及使用其的冰箱-爱企查
图片尺寸1435x846
一种折叠门开合用的传动装置的制作方法
图片尺寸1000x949
机械设计动画90度4连杆机构的隐藏式铰链2b机械自动化
图片尺寸1920x1080
设计的机械虹膜机 4月23日 25,用solidworks设计的六杆压力机构 4月24
图片尺寸640x360