开口销和销轴的装配图

读下图指出序号几是开口销
图片尺寸459x314
普通开口销(发夹销)
图片尺寸2441x1701
开口销及销轴
图片尺寸898x507
销轴图a3
图片尺寸594x420
问答列表 简单的话可用开口销和销轴连接.
图片尺寸279x262
销轴连接结构简图
图片尺寸1053x562
8.1-2014 销轴
图片尺寸2245x1387
销轴图
图片尺寸820x586
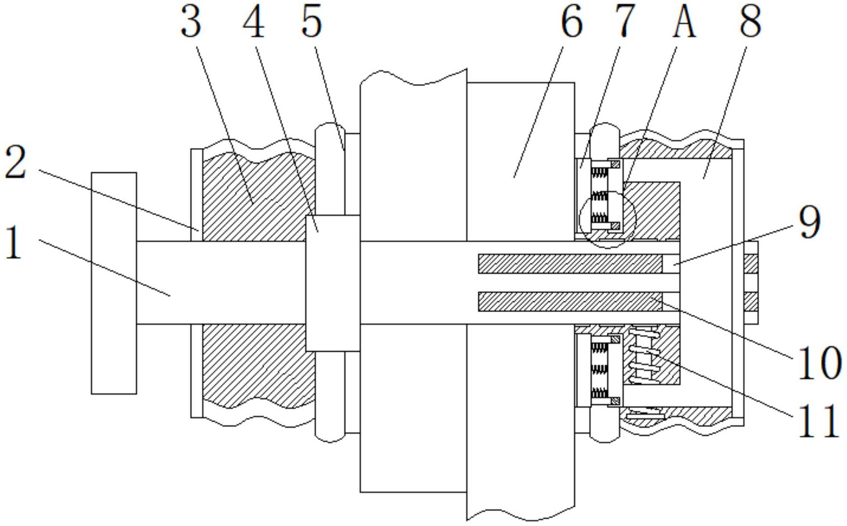
cn213144982u_一种带有防护功能的销轴
图片尺寸1733x1077
销轴a4.dwg
图片尺寸1200x800
孔定位销轴设计图
图片尺寸820x1159
平键,开口销和圆柱销
图片尺寸564x240
输出轴 装配图
图片尺寸841x594
销轴-a4.dwg
图片尺寸1200x800
一种销轴连接结构
图片尺寸1629x1611
a4-轴套定位销.dwg
图片尺寸1200x800
检规要求维护保养单位按照受检电梯制造(改造)单位(该单位已经注销时
图片尺寸660x633
销轴图
图片尺寸567x869
机械制图左视图怎么画(机械制图教程销的画法)(4)
图片尺寸320x253
一种销轴和其连接结构
图片尺寸1937x1575