开口销画法装配图

读下图,指出序号几是开口销.
图片尺寸459x314
表8-3 常用销的形式,规定标记及连接画法常用销的形式,规定标记和连接
图片尺寸1776x1451
304,316不锈钢开口销gb91
图片尺寸355x298
cn201115950y_一种开口销的安装工具失效
图片尺寸1772x2261
今日紧固件设计图分享:刚说到了r型开口销,现在就和大家分享一款r型
图片尺寸2014x1280
这个开口销用proe怎么画
图片尺寸360x720
销连接及其画法
图片尺寸600x532
紧固件# #我在百度# #设计图
图片尺寸2092x1280
求cad开口销怎么画?装配图?
图片尺寸600x286
开口销的作用:以前介绍的螺纹防松措施中就有提到过开口销,开口销就是
图片尺寸898x1280
cn112140056a_快速安装开口销的辅助工具及快速安装开口销的方法在审
图片尺寸420x429
gb91开口销标准与规格
图片尺寸625x323
重庆卡福钻球销开口销孔专用机床.doc
图片尺寸993x1404
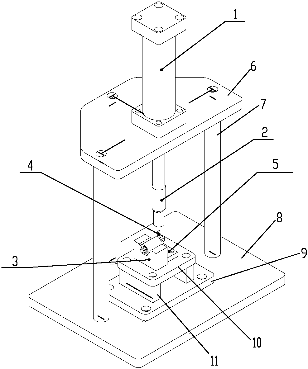
cn208214749u_一种开口销钉压入工装有效
图片尺寸988x1185
开口销的联结画法
图片尺寸1080x810
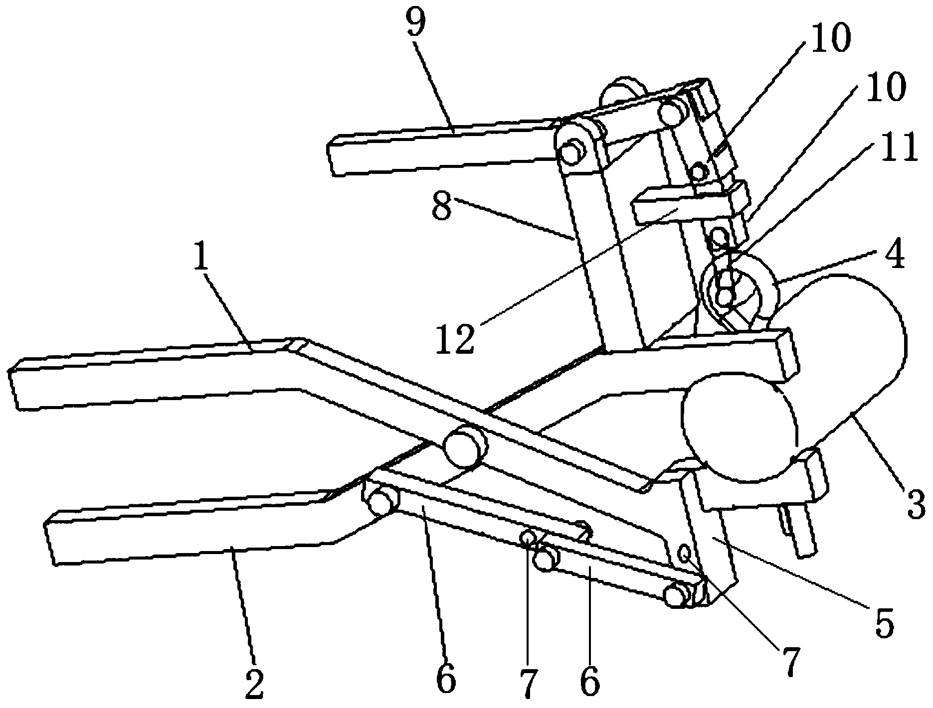
一种开口销拆卸器
图片尺寸1871x1421
din 11024 弹性开口销
图片尺寸512x543
销的装配工艺
图片尺寸800x1132
开口销
图片尺寸1240x1748
cn206850326u_具有视频传输的开口销带电加装工具有效
图片尺寸533x1000