开合门结构

佛山极窄钢化玻璃平开门家用铝合金厕所门卧室厨房浴室卫生间门
图片尺寸790x1733
卫生间不锈钢卧室平开合页 门窗房门静音轴承不锈钢静音合页
图片尺寸750x1224
供应pvc免漆门实木复合门
图片尺寸790x1100
古达定制锌合金门别墅大门双开门乡村家用农村入户门盗门四开门进户门
图片尺寸800x800
开合之间竟有如此多的门道小白快速入门看这一篇就够了
图片尺寸693x520
一种隔音隔热的手动双开门结构
图片尺寸1504x1397
(入户门隔音结构)根据质量法则,质量越重的物体起隔音性越好,阑爵入户
图片尺寸800x600
k65a系列隔热节能外平开门结构图|断桥铝门窗|广东兴发铝业有限公司
图片尺寸571x799
现有技术中的冰箱大多数为对开门或单侧开门的冰箱,其中单侧开门结构
图片尺寸943x1000
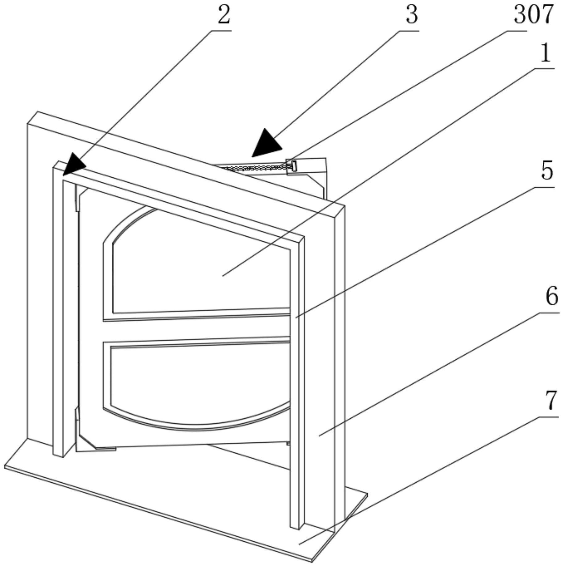
一种双向开合的木质门
图片尺寸1826x1835
cd系列洁净室密闭门结构图双门
图片尺寸910x362
铝合金平开门安装说明2016 -门窗十大品牌加盟代理 -搜房博客
图片尺寸1000x818
p45a系列外平开门结构图
图片尺寸640x842
10.3木门构造
图片尺寸1800x1350
金库门承德银行金库门金库门生产厂家
图片尺寸424x424
房门白色原木复合烤漆卧室门套装室内门隔音实木家用简约中式木门定制
图片尺寸750x500
一种限速自动开合门结构的制作方法
图片尺寸1000x875
2 门的构造 一,门的组成与尺度 1.
图片尺寸1080x810
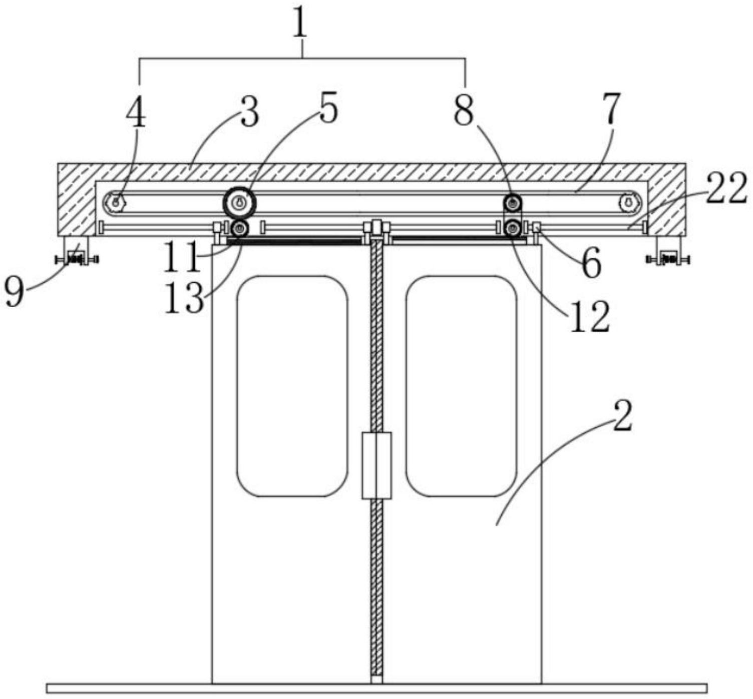
具有多种开合方式的门
图片尺寸1593x1845
钢木复合豪华别墅进户门
图片尺寸750x1024