开窗式展开图

开天窗透明产品包装盒刀版展开图模板
图片尺寸626x316
开窗彩盒图片
图片尺寸994x812
开窗内衬纸盒纸箱制作图片
图片尺寸994x945
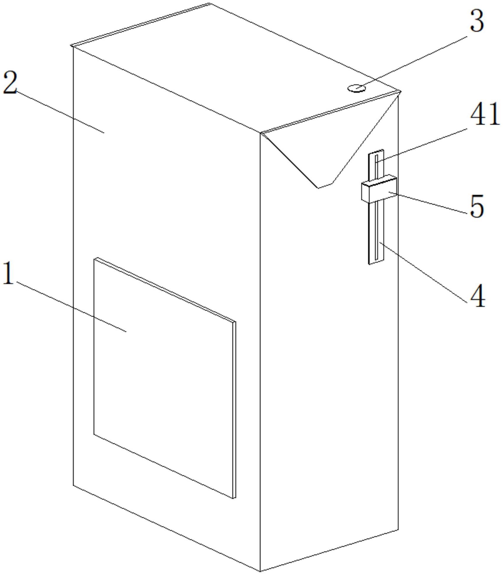
cn213009658u_一种开窗式纸塑包装袋有效
图片尺寸1704x1949
开天窗透明产品包装盒刀版展开图模板
图片尺寸626x590
开天窗透明产品包装盒刀版展开图模板
图片尺寸626x331
悬挂面板开窗式展示盒
图片尺寸658x340
开窗包装展开图图片
图片尺寸650x1780
开天窗透明产品包装盒刀版展开图模板矢量图素材
图片尺寸626x701
开天窗透明产品包装盒刀版展开图模板
图片尺寸626x449
开天窗透明产品包装盒刀版展开图模板
图片尺寸626x531
开窗包装盒卡模
图片尺寸650x650
描述-定制5
图片尺寸790x1394
开窗包装盒
图片尺寸953x1024
板栗酥饼包装纸盒定logo 食品包装盒包装礼品糕点小吃折叠纸盒
图片尺寸750x956
牛皮纸开窗袋加厚自封袋自立拉链袋食品密封袋坚果茶叶包装袋批发
图片尺寸734x800
厂家订做 餐巾纸纸盒 卫生纸盒 开窗盒
图片尺寸723x490
几张纸盒包装展开图
图片尺寸600x900
耳机数码产品包装盒 开窗pvc包装白卡彩盒 折叠插孔包装盒定制
图片尺寸750x705
包装设计图形手册1重要文件
图片尺寸920x1302